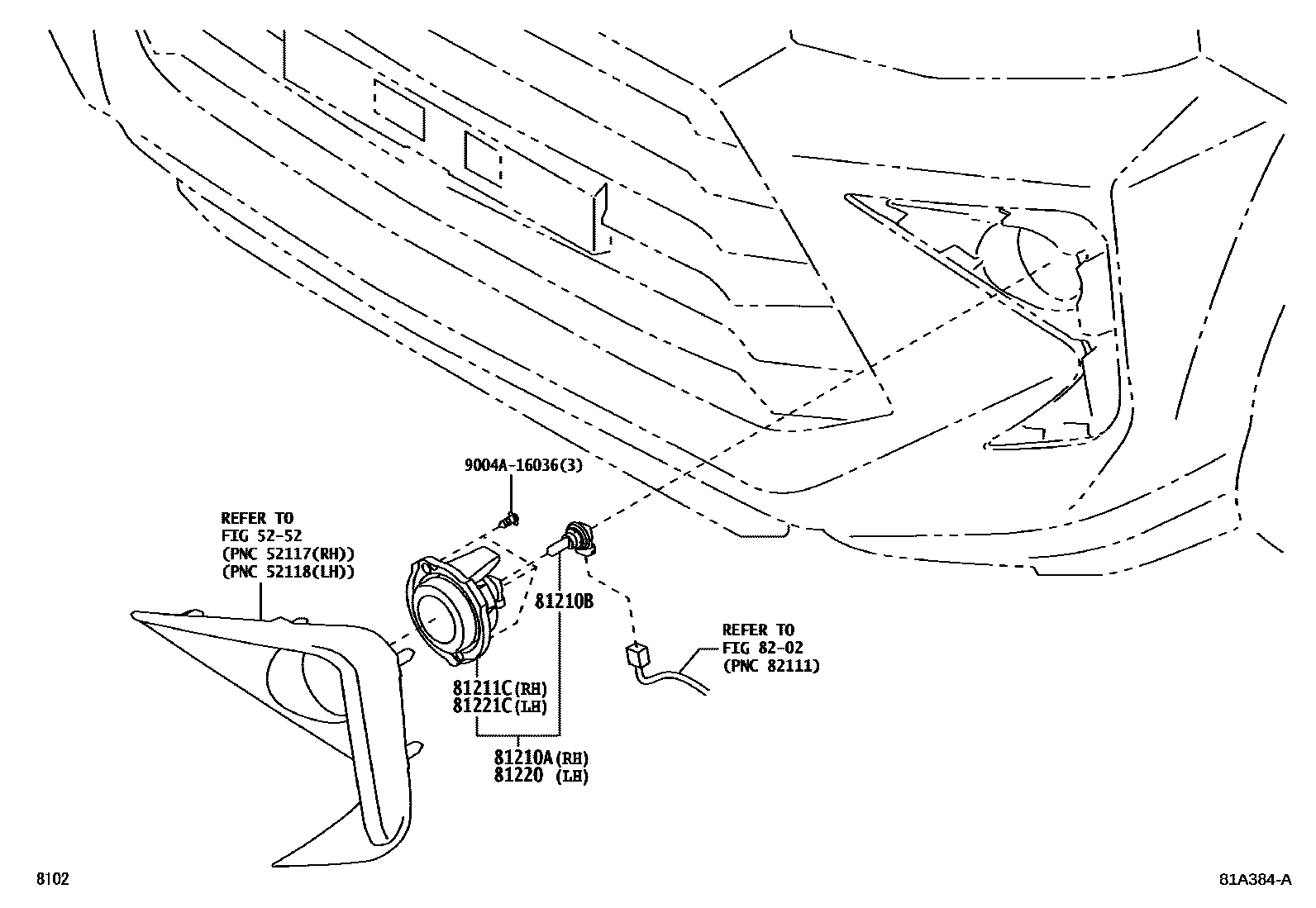
5252FRONT BUMPER & BUMPER STAY
81210ALAMP ASSY, FOG, RH
main81210-BZ160iW101..CVT..G;W101..5F..GEN;W100,101..(M,S,V)..(GCC,IDN,PHL,THAI,VN)202111 81210BBULB, FOG LAMP
main90049-51185×2iW101..CVT..G;W101..5F..GEN;W100,101..(M,S,V)..(GCC,IDN,PHL,THAI,VN)202111 12V 19W H16
81211CLAMP UNIT, FOG LAMP, RH
main81211-BZ060iW101..CVT..G;W101..5F..GEN;W100,101..(M,S,V)..(GCC,IDN,PHL,THAI,VN)202111 81220LAMP ASSY, FOG, LH
main81220-BZ160iW101..CVT..G;W101..5F..GEN;W100,101..(M,S,V)..(GCC,IDN,PHL,THAI,VN)202111 81221CLAMP UNIT, FOG LAMP, LH
main81221-BZ060iW101..CVT..G;W101..5F..GEN;W100,101..(M,S,V)..(GCC,IDN,PHL,THAI,VN)202111