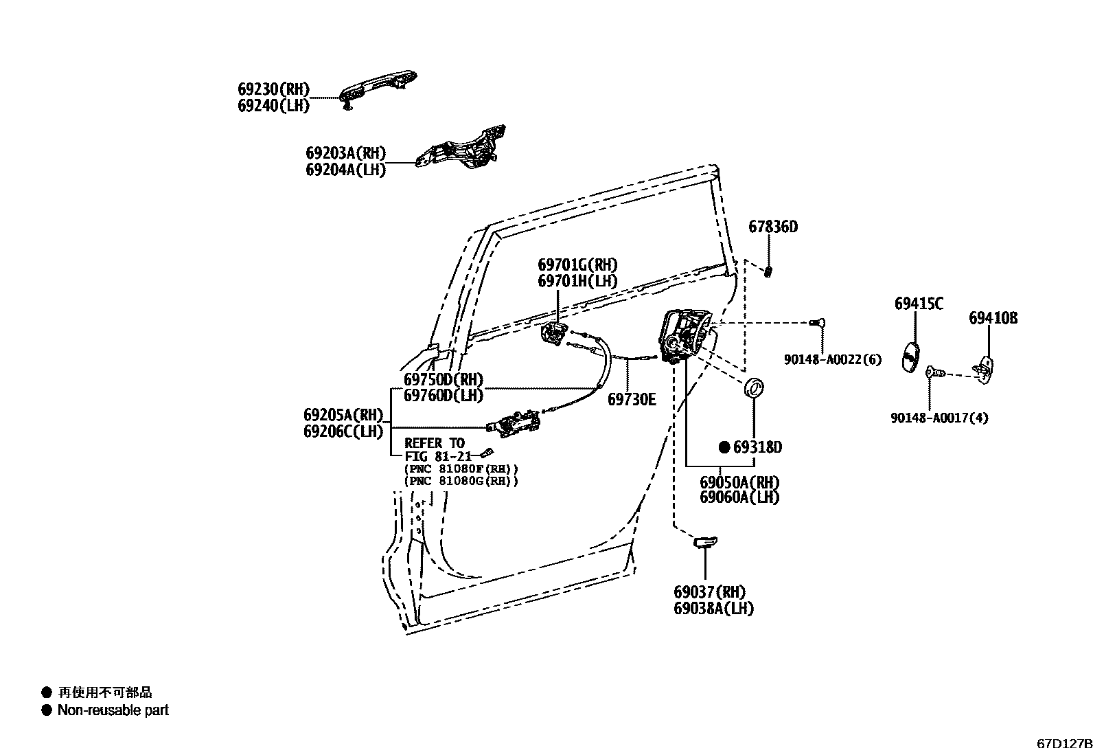
REAR DOOR LOCK & HANDLE

67836DCOVER, REAR DOOR LOCK CHILD PROTECTION
69037COVER SUB-ASSY, REAR DOOR LOCK, RH
69038ACOVER SUB-ASSY, REAR DOOR LOCK, LH
69050ALOCK ASSY, REAR DOOR W/MOTOR, RH
69060ALOCK ASSY, REAR DOOR W/MOTOR, LH
69203AFRAME SUB-ASSY, REAR DOOR OUTSIDE HANDLE, RH
69204AFRAME SUB-ASSY, REAR DOOR OUTSIDE HANDLE, LH
69205AHANDLE SUB-ASSY, REAR DOOR INSIDE, RH
BLACK,TRIM0#,2#; BLACK,TRIM0#,2#,4#
BLACK,TRIM0#,2#; BLACK,TRIM0#,2#,4#
BLACK,TRIM0#,2#; BLACK,TRIM0#,2#,4#
69206CHANDLE SUB-ASSY, REAR DOOR INSIDE, LH
BLACK,TRIM0#,2#; BLACK,TRIM0#,2#,4#
BLACK,TRIM0#,2#; BLACK,TRIM0#,2#,4#
BLACK,TRIM0#,2#; BLACK,TRIM0#,2#,4#
69230HANDLE ASSY, REAR DOOR OUTSIDE, RH
PLATINUM WHITE PEARL MC.,089
SILVER ME.,1J9
SONIC CHROME,1L1
TITANIUM CARBIDE GRAY,1L8
GRAPHITE BLACK GF.,223
RED MC.CS.,3R1
DEEP BLUE MC.,8X5
69240HANDLE ASSY, REAR DOOR OUTSIDE, LH
PLATINUM WHITE PEARL MC.,089
SILVER ME.,1J9
SONIC CHROME,1L1
TITANIUM CARBIDE GRAY,1L8
GRAPHITE BLACK GF.,223
RED MC.CS.,3R1
DEEP BLUE MC.,8X5
69318DSEAL, DOOR LOCK WIRING HARNESS
69410BPLATE ASSY, REAR DOOR LOCK STRIKER
69415CCOVER, DOOR LOCK STRIKER, REAR
69701GBELLCRANK SUB-ASSY, REAR DOOR LOCK CONTROL, UPPER, RH
69701HBELLCRANK SUB-ASSY, REAR DOOR LOCK CONTROL, UPPER, LH
69730ECABLE ASSY, REAR DOOR LOCK REMOTE CONTROL, NO.1
69750DCABLE ASSY, REAR DOOR INSIDE LOCKING, RH
69760DCABLE ASSY, REAR DOOR INSIDE LOCKING, LH
8121INTERIOR LAMP
90148A0017
main90148-A0017
90148A0022
main90148-A0022
22 parts on this diagram · 1 diagram in section