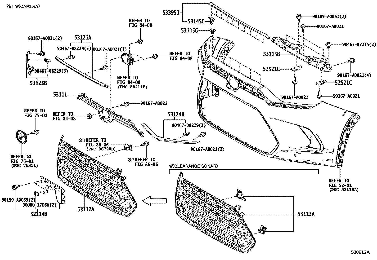
RADIATOR GRILLE

5201FRONT BUMPER & BUMPER STAY
52114BBRACKET, FRONT BUMPER EXTENSION MOUNTING
52521CRETAINER, FRONT BUMPER, UPPER
53111GRILLE, RADIATOR
NO PAINT REQ.
53112AGRILLE, RADIATOR, LOWER
PERIPHERAL MONITOR CAMERA-WITH(PANORAMIC VIEW MONITOR)
PERIPHERAL MONITOR CAMERA-WITH(PANORAMIC VIEW MONITOR)
53115BBRACKET, RADIATOR GRILLE
53115GCLIP, RADIATOR GRILLE BRACKET
BLACK
53121AMOULDING, RADIATOR GRILLE
NIGHTSHADE PACKAGE; NIGHTSHADE PACKAGE&PERIPHERAL MONITOR CAMERA-WITH(PANORAMIC VIEW MONITOR)
53123BMOULDING, RADIATOR GRILLE SIDE, RH
NIGHTSHADE PACKAGE; NIGHTSHADE PACKAGE&PERIPHERAL MONITOR CAMERA-WITH(PANORAMIC VIEW MONITOR)
53124BMOULDING, RADIATOR GRILLE SIDE, LH
NIGHTSHADE PACKAGE; NIGHTSHADE PACKAGE&PERIPHERAL MONITOR CAMERA-WITH(PANORAMIC VIEW MONITOR)
53145GCLIP, RADIATOR GRILLE
53395JSEAL, HOOD TO FRONT END PANEL
7501EMBLEM & NAME PLATE (EXTERIOR & INTERIOR)
8408CRUISE CONTROL (AUTO DRIVE)
8606CAMERA & REAR MONITOR DISPLAY
9008017066
main90080-17066
90109A0061
main90109-A0061
90159A0059
main90159-A0059
90167A0021
main90167-A0021
9046707215
main90467-07215
9046708229
main90467-08229
21 parts on this diagram · 1 diagram in section