E
EPC Data

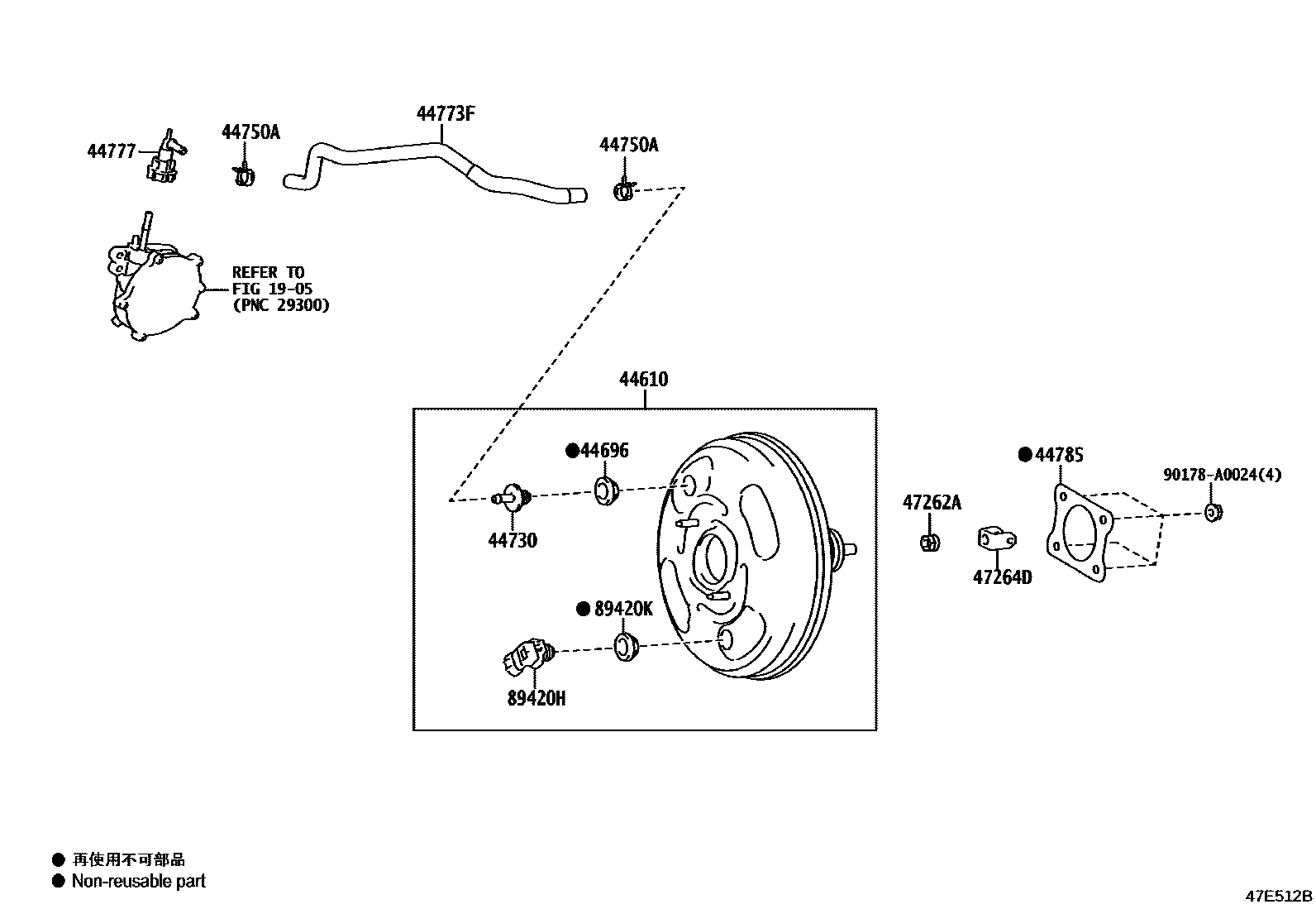
BRAKE BOOSTER & VACUUM TUBE

Parts diagram
1905VACUUM PUMP
44610BOOSTER ASSY, BRAKE
main44610-0E191i202306
44696GROMMET, CHECK VALVE
main90080-48071i202306
44730VALVE ASSY, VACUUM CHECK(FOR BRAKE)
main44730-30060i202306
44750ACLIP(FOR VACUUM HOSE ASSY)
main90467-16014i202306
44773FHOSE, UNION TO CHECK VALVE
main44773-0E160i202306
44777CONNECTOR, VACUUM HOSE, NO.1
main29612-25010i202306
44785GASKET, BRAKE BOOSTER
main44785-02060i202306
47262ANUT, MASTER CYLINDER PUSH ROD CLEVIS LOCK
main90179-10065i202306
47264DCLEVIS, BRAKE MASTER CYLINDER PUSH ROD
main47264-42020i202306
89420HSENSOR ASSY, VACUUM
main89421-71040i202306
89420KGROMMET, VACUUM SENSOR
main90080-48071i202306
90178A0024

13 parts on this diagram · 1 diagram in section

BRAKE BOOSTER & VACUUM TUBE — Toyota Parts Diagram with OEM Numbers & Prices | EPC Data