E
EPC Data

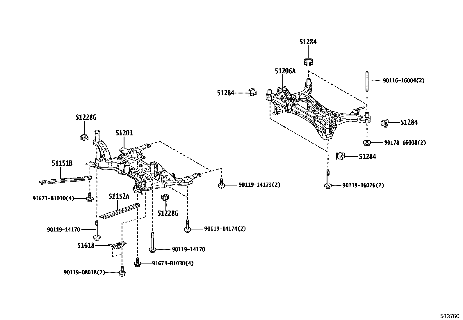
SUSPENSION CROSSMEMBER & UNDER COVER

Parts diagram
51151BREINFORCEMENT, SIDE RAIL, NO.1 RH
main51151-10010i202111
51152AREINFORCEMENT, SIDE RAIL, NO.1 LH
main51151-10010i202111
51201CROSSMEMBER SUB-ASSY, FRONT SUSPENSION
main51201-76050i202111
51206AMEMBER SUB-ASSY, REAR SUSPENSION
main51206-76030i202111-202207
main51206-76031i202208
51228GPLATE, FRONT SUSPENSION MEMBER
main51228-47010i202111
51284COVER, REAR SUSPENSION MEMBER HOLE
main51284-47010i202111-202208
51618GUARD, FRONT DIFFERENTIAL SUPPORT, LH
main51618-76010i202111
9011616004
9011908D18
9011914170
9011914173
9011914174
9011916026
9017816008
91673B1030

15 parts on this diagram · 2 diagrams in section

SUSPENSION CROSSMEMBER & UNDER COVER — Toyota Parts Diagram with OEM Numbers & Prices | EPC Data