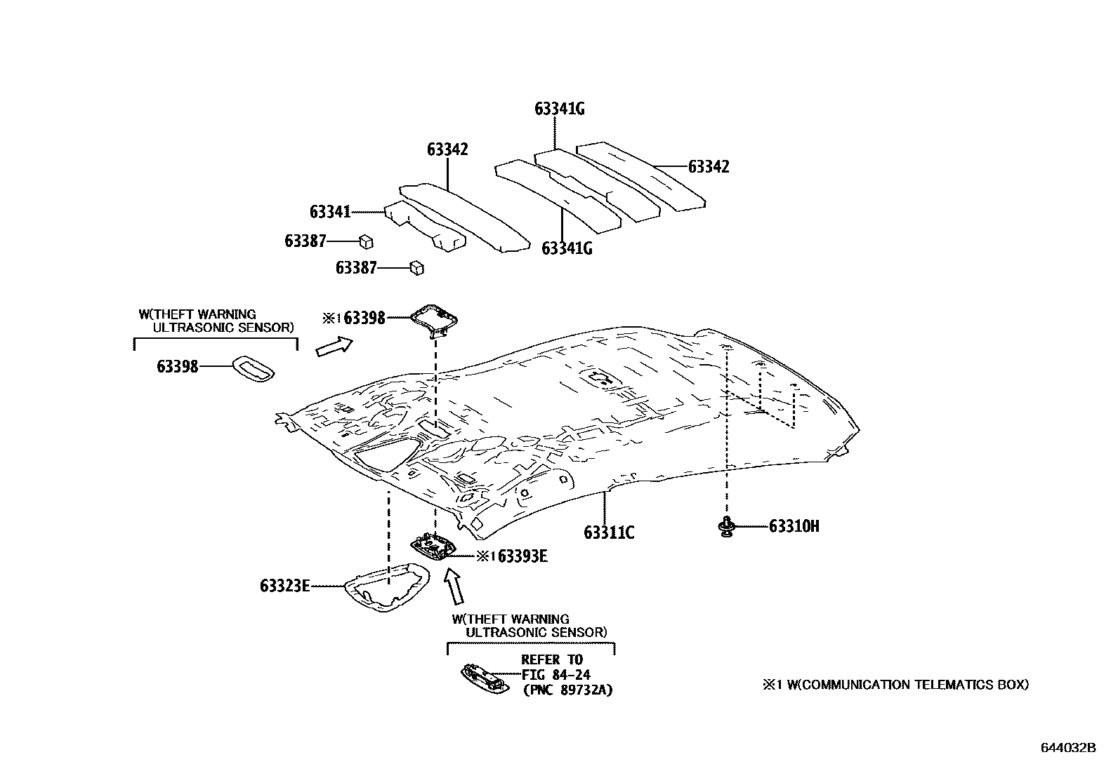
ROOF HEADLINING & SILENCER PAD

63310HCLIP(FOR ROOF HEADLINING)
LT.GRAY,TRIM21; LT.GRAY,TRIM21,23; LT.GRAY,TRIM21,23,41
BLACK,TRIM2#,8#; BLACK,TRIM22,40
main90467-07215×3iNGX10,50,ZGX10,ZYX10; ZYX10..N;NGX10..6F..N..EUR; ZYX10..RHD..N;NGX10..RHD..6F..N201610-201909
LIGHT GRADE; LIGHT GRADE&SUN VISOR-WITH(*DRP MIRROR & LAMP); UNITED KINGDOM SPEC&LIGHT GRADE; UNITED KINGDOM SPEC&LIGHT GRADE&SUN VISOR-WITH(*DRP MIRROR & LAMP)
63311CHEADLINING, ROOF
main63311-F4010-B2supersedes 63311-F4060-B1iMAXH10,ZYX11..RHD..(K,N); MAXH10,ZYX11..RHD..E; MAXH10,ZYX11..RHD..G201909-202010
GRAY,TRIM21; GRAY,TRIM21,23; GRAY,TRIM21,23,41
BLACK,TRIM20,22,24,4#,8#; BLACK,TRIM20,22,24,40,8#; BLACK,TRIM20,4#,8#
main63311-F4020-C0iNGX10,50,ZGX10,ZYX10..D,G,N; ZYX10..N;NGX10..6F..N..EUR; ZYX10..RHD..N;NGX10..RHD..6F..N201610-201909
BLACK,TRIM2#; LIGHT GRADE&SUN VISOR-WITH(*DRP MIRROR & LAMP),BLACK,TRIM2#; LIGHT GRADE,BLACK,TRIM2#; UNITED KINGDOM SPEC&LIGHT GRADE&SUN VISOR-WITH(*DRP MIRROR & LAMP),BLACK,TRIM2#; UNITED KINGDOM SPEC&LIGHT GRADE,BLACK,TRIM2#
GRAY,TRIM21; GRAY,TRIM21,23,41
main63311-F4060-C0supersedes 63311-F4010-C0iMAXH10,ZYX11..RHD..(K,N); MAXH10,ZYX11..RHD..E; MAXH10,ZYX11..RHD..G202010
BLACK,TRIM2#,8#; BLACK,TRIM20; BLACK,TRIM22,40
MID- PACKAGE,GRAY,TRIM21
main63311-F4030-B1iMAXH10,ZYX11..RHD..E; NGX10..RHD..6F..N;MAXH10,ZYX11..RHD..N; NGX10..RHD..CVT..N;MAXH10,NGX10,ZYX11..RHD..K201909-202010
ANTI-THEFT SYSTEM-WITH(*IM & SIREN & *INC & *GBS),GRAY,TRIM21; UNITED KINGDOM SPEC,GRAY,TRIM21; UNITED KINGDOM SPEC,GRAY,TRIM23,41
main63311-F4030-C0iMAXH10,NGX10,ZYX11..RHD..G; MAXH10,ZYX11..RHD..E; NGX10..RHD..6F..N;MAXH10,ZYX11..RHD..N; NGX10..RHD..CVT..N;MAXH10,NGX10,ZYX11..RHD..K201909-202010
ANTI-THEFT SYSTEM-WITH(*IM & SIREN & *INC & *GBS),BLACK,TRIM20; UNITED KINGDOM SPEC,BLACK,TRIM2#,8#; UNITED KINGDOM SPEC,BLACK,TRIM20; UNITED KINGDOM SPEC,BLACK,TRIM22,40
UNITED KINGDOM SPEC,BLACK,TRIM2#
ANTI-THEFT SYSTEM-WITH(*IM & SIREN & *INC & *GBS),GRAY,TRIM21; UNITED KINGDOM SPEC,GRAY,TRIM21; UNITED KINGDOM SPEC,GRAY,TRIM23,41
main63311-F4160-C0iMAXH10,ZYX11..RHD..E; MAXH10,ZYX11..RHD..G; MAXH10,ZYX11..RHD..K; MAXH10,ZYX11..RHD..N202010
ANTI-THEFT SYSTEM-WITH(*IM & SIREN & *INC & *GBS),BLACK,TRIM20; UNITED KINGDOM SPEC,BLACK,TRIM2#,8#; UNITED KINGDOM SPEC,BLACK,TRIM20; UNITED KINGDOM SPEC,BLACK,TRIM22,40
MID- PACKAGE&ANTI-THEFT SYSTEM-WITH(*IM & SIREN & *INC & *GBS),GRAY,TRIM21
MID- PACKAGE&ANTI-THEFT SYSTEM-WITH(*IM & SIREN & *INC & *GBS),BLACK,TRIM20
MID- PACKAGE&ANTENNA-AM & FM & DAB & GPS & TELEPHONE,GRAY,TRIM21; MID- PACKAGE&ANTENNA-AM & FM & GPS & TELEPHONE,GRAY,TRIM21; MID- PACKAGE,GRAY,TRIM21; RUSSIA SPEC&MID- PACKAGE,GRAY,TRIM21
MID- PACKAGE&ANTENNA-AM & FM & DAB & GPS & TELEPHONE,BLACK,TRIM20; MID- PACKAGE&ANTENNA-AM & FM & GPS & TELEPHONE,BLACK,TRIM20; MID- PACKAGE,BLACK,TRIM20; RUSSIA SPEC&MID- PACKAGE,BLACK,TRIM20
63323ECASE, HEADLINING LAMP
63341PAD, ROOF SILENCER, NO.1
main63341-F4010iNGX10,50,ZYX10..EUR; ZYX10..N;NGX10..6F..N..EUR; ZYX10..RHD..N;NGX10..RHD..6F..N201610-201909
LIGHT GRADE; LIGHT GRADE&SUN VISOR-WITH(*DRP MIRROR & LAMP); UNITED KINGDOM SPEC&LIGHT GRADE; UNITED KINGDOM SPEC&LIGHT GRADE&SUN VISOR-WITH(*DRP MIRROR & LAMP)
ANTI-THEFT SYSTEM-WITH(*IM & SIREN & *INC & *GBS); MID- PACKAGE&ANTI-THEFT SYSTEM-WITH(*IM & SIREN & *INC & *GBS); UNITED KINGDOM SPEC
63341GPAD, ROOF SILENCER
63342PAD, ROOF SILENCER, NO.2
main63342-F4010×2iNGX10,50,ZGX10,ZYX10; ZYX10..N;NGX10..6F..N..EUR; ZYX10..RHD..N;NGX10..RHD..6F..N201610-201909
LIGHT GRADE; LIGHT GRADE&SUN VISOR-WITH(*DRP MIRROR & LAMP); UNITED KINGDOM SPEC&LIGHT GRADE; UNITED KINGDOM SPEC&LIGHT GRADE&SUN VISOR-WITH(*DRP MIRROR & LAMP)
63387PAD, ROOF HEADLINING FORMING
main63387-F4010×2iNGX10,50,ZGX10,ZYX10; ZYX10..N;NGX10..6F..N..EUR; ZYX10..RHD..N;NGX10..RHD..6F..N201610-201909
LIGHT GRADE; LIGHT GRADE&SUN VISOR-WITH(*DRP MIRROR & LAMP); UNITED KINGDOM SPEC&LIGHT GRADE; UNITED KINGDOM SPEC&LIGHT GRADE&SUN VISOR-WITH(*DRP MIRROR & LAMP)
63393ETRIM, ROOF HEADLINING
LT.GRAY,TRIM21; LT.GRAY,TRIM23,41; MID- PACKAGE&ANTENNA-AM & FM & DAB & GPS & TELEPHONE,LT.GRAY,TRIM21; MID- PACKAGE&ANTENNA-AM & FM & GPS & TELEPHONE,LT.GRAY,TRIM21; RUSSIA SPEC&MID- PACKAGE,LT.GRAY,TRIM21
BLACK,TRIM20; BLACK,TRIM20,22,24,40; BLACK,TRIM20,22,24,8#
main63393-10030-B0iMAXH10,ZYX11..RHD..E; MAXH10,ZYX11..RHD..K; MAXH10,ZYX11..RHD..N; ZYX11..RHD..N202010
ANTI-THEFT SYSTEM-WITH(*IM & SIREN & *INC & *GBS),LT.GRAY,TRIM21; MID- PACKAGE&ANTI-THEFT SYSTEM-WITH(*IM & SIREN & *INC & *GBS),LT.GRAY,TRIM21; UNITED KINGDOM SPEC,LT.GRAY,TRIM21; UNITED KINGDOM SPEC,LT.GRAY,TRIM23,41
main63393-10030-C0iMAXH10,ZYX11..RHD..E; MAXH10,ZYX11..RHD..G; MAXH10,ZYX11..RHD..K; MAXH10,ZYX11..RHD..N; ZYX11..RHD..N202010
ANTI-THEFT SYSTEM-WITH(*IM & SIREN & *INC & *GBS),BLACK,TRIM20; MID- PACKAGE&ANTI-THEFT SYSTEM-WITH(*IM & SIREN & *INC & *GBS),BLACK,TRIM20; UNITED KINGDOM SPEC,BLACK,TRIM2#,8#; UNITED KINGDOM SPEC,BLACK,TRIM20; UNITED KINGDOM SPEC,BLACK,TRIM22,40
63398PLATE, ROOF HEADLINING SUPPORT
MID- PACKAGE&ANTENNA-AM & FM & DAB & GPS & TELEPHONE; MID- PACKAGE&ANTENNA-AM & FM & GPS & TELEPHONE; RUSSIA SPEC&MID- PACKAGE
UNITED KINGDOM SPEC; UNITED KINGDOM SPEC&SUN VISOR-WITH(*DRP MIRROR & LAMP)
ANTI-THEFT SYSTEM-WITH(*IM & SIREN & *INC & *GBS); MID- PACKAGE&ANTI-THEFT SYSTEM-WITH(*IM & SIREN & *INC & *GBS); UNITED KINGDOM SPEC
8424ANTI-THEFT DEVICE
10 parts on this diagram · 2 diagrams in section