E
EPC Data

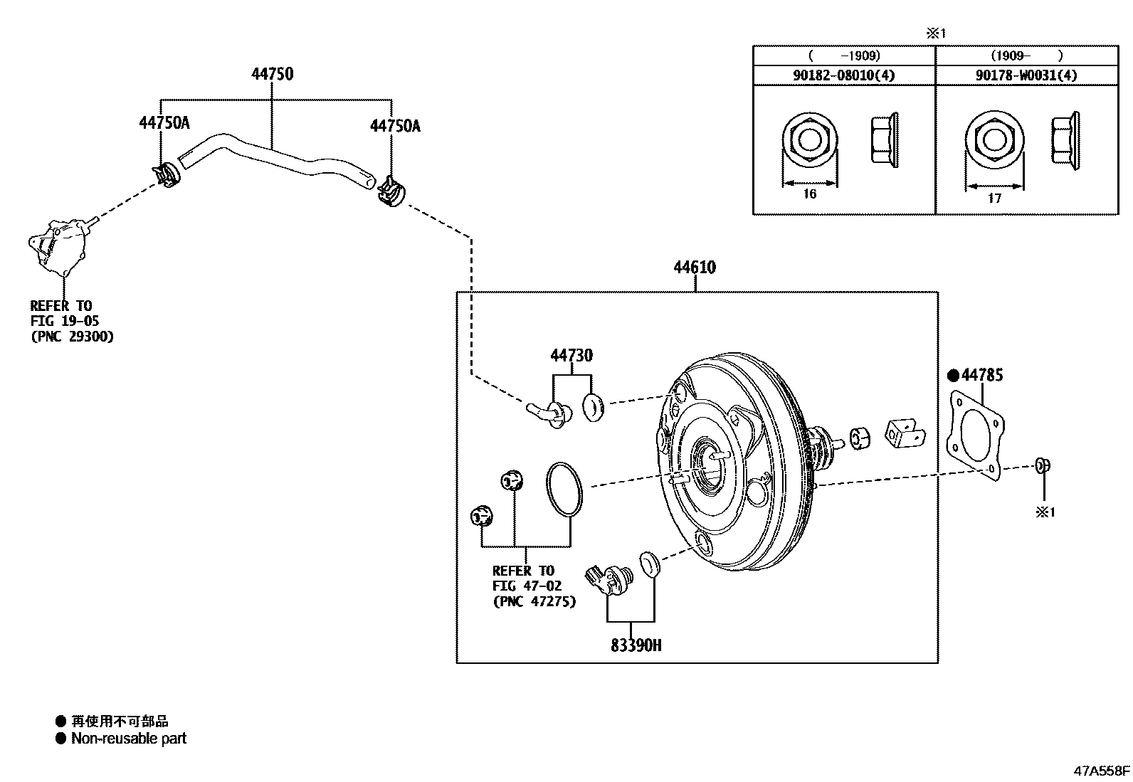
BRAKE BOOSTER & VACUUM TUBE

Parts diagram
1905VACUUM PUMP
44610BOOSTER ASSY, BRAKE
main44610-F9060i201702-201909
44730VALVE ASSY, VACUUM CHECK(FOR BRAKE)
main44730-F9010i201702-201909
44750HOSE ASSY, VACUUM
main44750-F4030i201702-201909
44750ACLIP(FOR VACUUM HOSE ASSY)
main90466-W0008×2i201702-201909
44785GASKET, BRAKE BOOSTER
main44785-05020i201702-201909
4702BRAKE MASTER CYLINDER
83390HSWITCH ASSY, VACUUM WARNING
main83390-09020i201702-201909
90178W0031
9018208010

10 parts on this diagram · 1 diagram in section

BRAKE BOOSTER & VACUUM TUBE — Toyota Parts Diagram with OEM Numbers & Prices | EPC Data