E
EPC Data

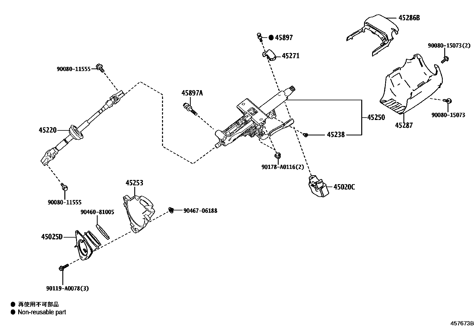
STEERING COLUMN & SHAFT

Parts diagram
45020CACTUATOR ASSY, STEERING LOCK(W/ECU)
main45020-06230i201912-202110
45025DCOVER SUB-ASSY, STEERING COLUMN HOLE, NO.1
main45025-0R040i201912-202210
45220SHAFT ASSY, STEERING INTERMEDIATE
main45220-0E050i201912-202210
45238CLAMP, BOLT(FOR STEERING FLEXIBLE COUPLING)
main45238-52010i201912-202210
45250COLUMN ASSY, STEERING
main45250-07191i201912-202210
45253COVER, STEERING COLUMN HOLE
main45253-0E090i201912-202210
45271CLAMP, STEERING COLUMN, UPPER
main45271-08010i201912-202110
45286BCOVER, STEERING COLUMN, UPR
main45286-06330-C0i201912-202210
BLACK,TRIM1#,2#; BLACK,TRIM1#,2#,4#
45287COVER, STEERING COLUMN, LWR
main45287-06420-C0i201912-202210
BLACK,TRIM1#,2#; BLACK,TRIM1#,2#,4#
45897BOLT, STEERING LOCK SET
main45897-08010×2i201912-202110
45897ABOLT, TILT STEERING PAWL SET
main90119-A0362i201912-202210
9008011555
9008015073
90119A0078
90178A0116
9046081005
9046706188

17 parts on this diagram · 1 diagram in section

STEERING COLUMN & SHAFT — Toyota Parts Diagram with OEM Numbers & Prices | EPC Data