CRUISE CONTROL (AUTO DRIVE)

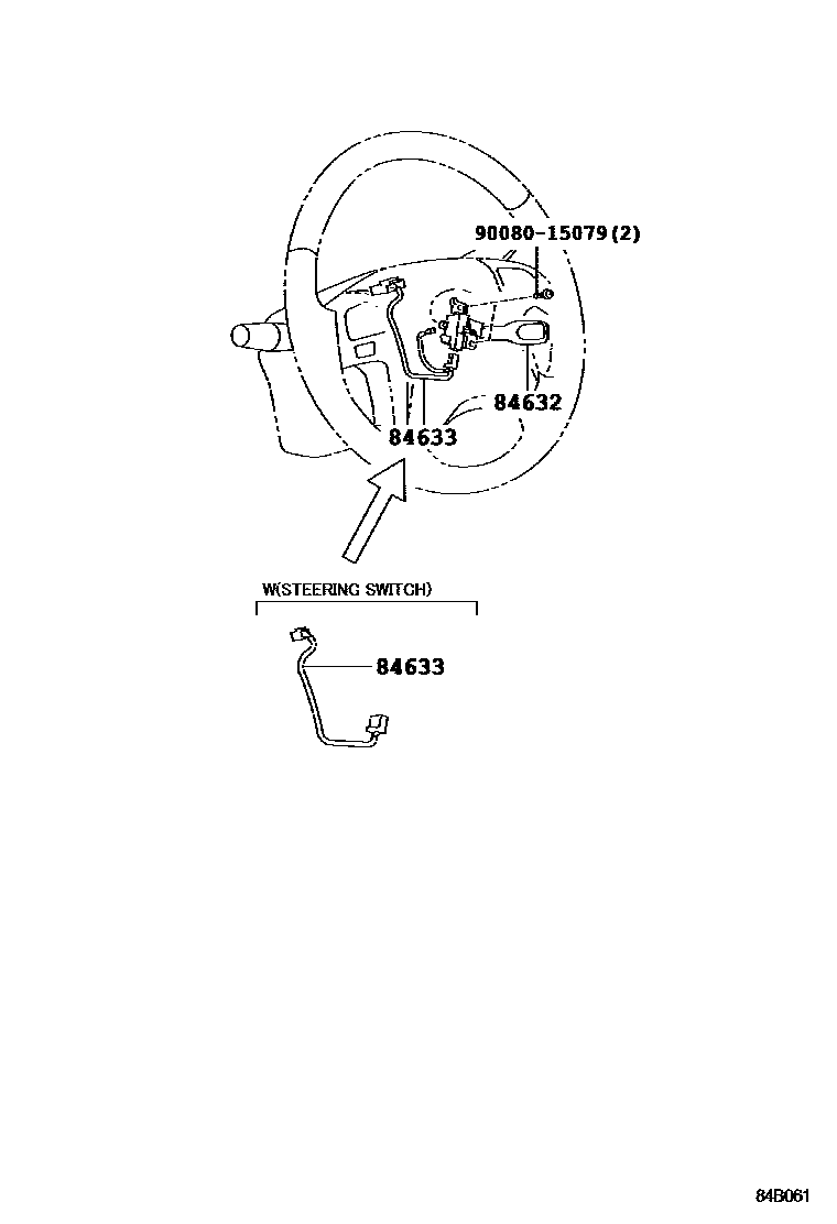
84632SWITCH, CRUISE CONTROL MAIN
CRUISE CONTROL-WITHOUT; CRUISE CONTROL-WITHOUT&SHIFT LEVER & KNOB-LEATHER
84633WIRE, CRUISE CONTROL SWITCH
MULTI INFORMATION DISPLAY-WITH; SHIFT LEVER & KNOB-LEATHER; SHIFT LEVER & KNOB-LEATHER&MULTI INFORMATION DISPLAY-WITH
CRUISE CONTROL-WITHOUT; CRUISE CONTROL-WITHOUT&SHIFT LEVER & KNOB-LEATHER
9008015079
main90080-15079
3 parts on this diagram · 1 diagram in section