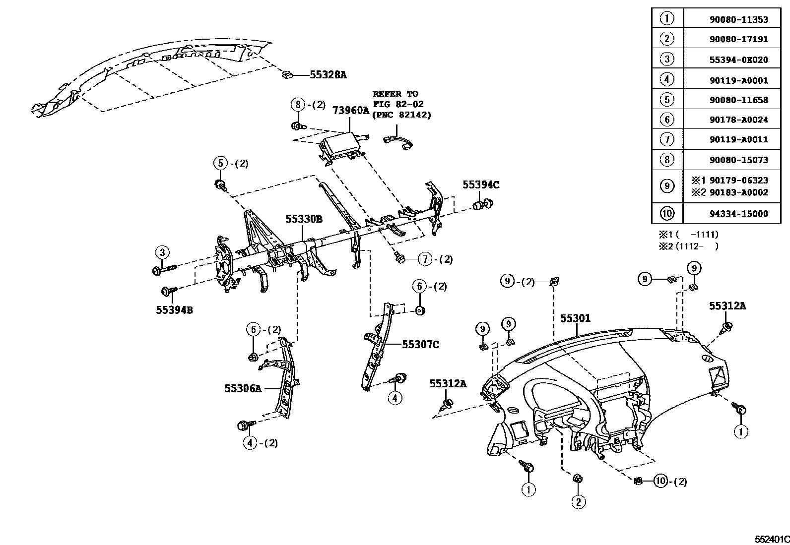
INSTRUMENT PANEL & GLOVE COMPARTMENT

55301PANEL SUB-ASSY, INSTRUMENT
BLACK,TRIM1#; BLACK,TRIM1#,2#
DK. BROWN,TRIM4#
55306ABRACE SUB-ASSY, INSTRUMENT PANEL, NO.1
55307CBRACE SUB-ASSY, INSTRUMENT PANEL, NO.2
55312ACLIP, INSTRUMENT PANEL
55328ASTAY, INSTRUMENT PANEL, NO.3
55330BREINFORCEMENT ASSY, INSTRUMENT PANEL
55394BBOLT, INSTRUMENT PANEL
55394CBOLT, INSTRUMENT PANEL
73960AAIRBAG ASSY, INSTRUMENT PANEL PASSENGER W/O DOOR
8202WIRING & CLAMP
553940E020BRACKET, INSTRUMENT PANEL TO PEDAL
main55394-0E020
9008011353
main90080-11353
9008011658
main90080-11658
9008015073
main90080-15073
9008017191
main90080-17191
90119A0001
main90119-A0001
90119A0011
main90119-A0011
90178A0024
main90178-A0024
9017906323
main90179-06323
90183A0002
main90183-A0002
9433415000
main94334-15000
21 parts on this diagram · 4 diagrams in section