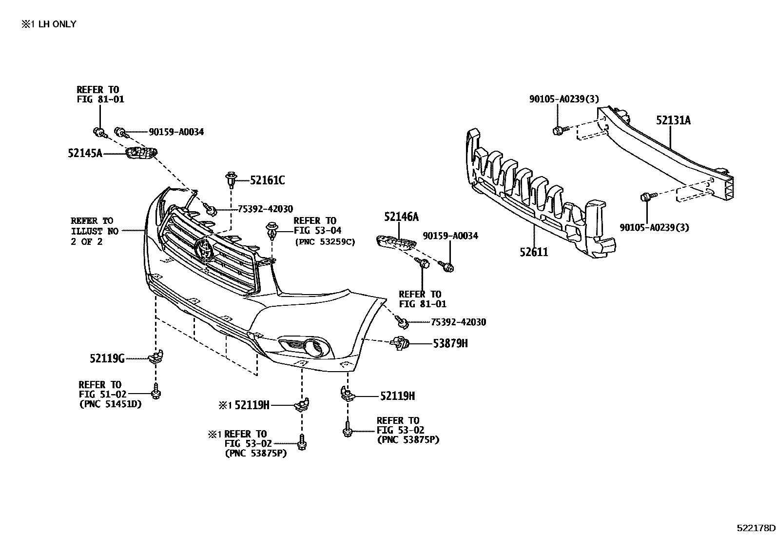
FRONT BUMPER & BUMPER STAY

5102SUSPENSION CROSSMEMBER & UNDER COVER
52119GCLIP, NO.1
52119HCLIP, NO.2
52131AREINFORCEMENT, FRONT BUMPER
52145ASTAY, FRONT BUMPER, NO.2 RH
52146ASTAY, FRONT BUMPER, NO.2 LH
52161CPIECE, FRONT BUMPER
52611ABSORBER, FRONT BUMPER ENERGY
5302HOOD & FRONT FENDER
5304FRONT FENDER APRON & DASH PANEL
53879HRETAINER, FRONT FENDER LINER
8101HEADLAMP
7539242030RETAINER, OUTSIDE MOULDING
main75392-42030
90105A0239
main90105-A0239
90159A0034
main90159-A0034
15 parts on this diagram · 4 diagrams in section