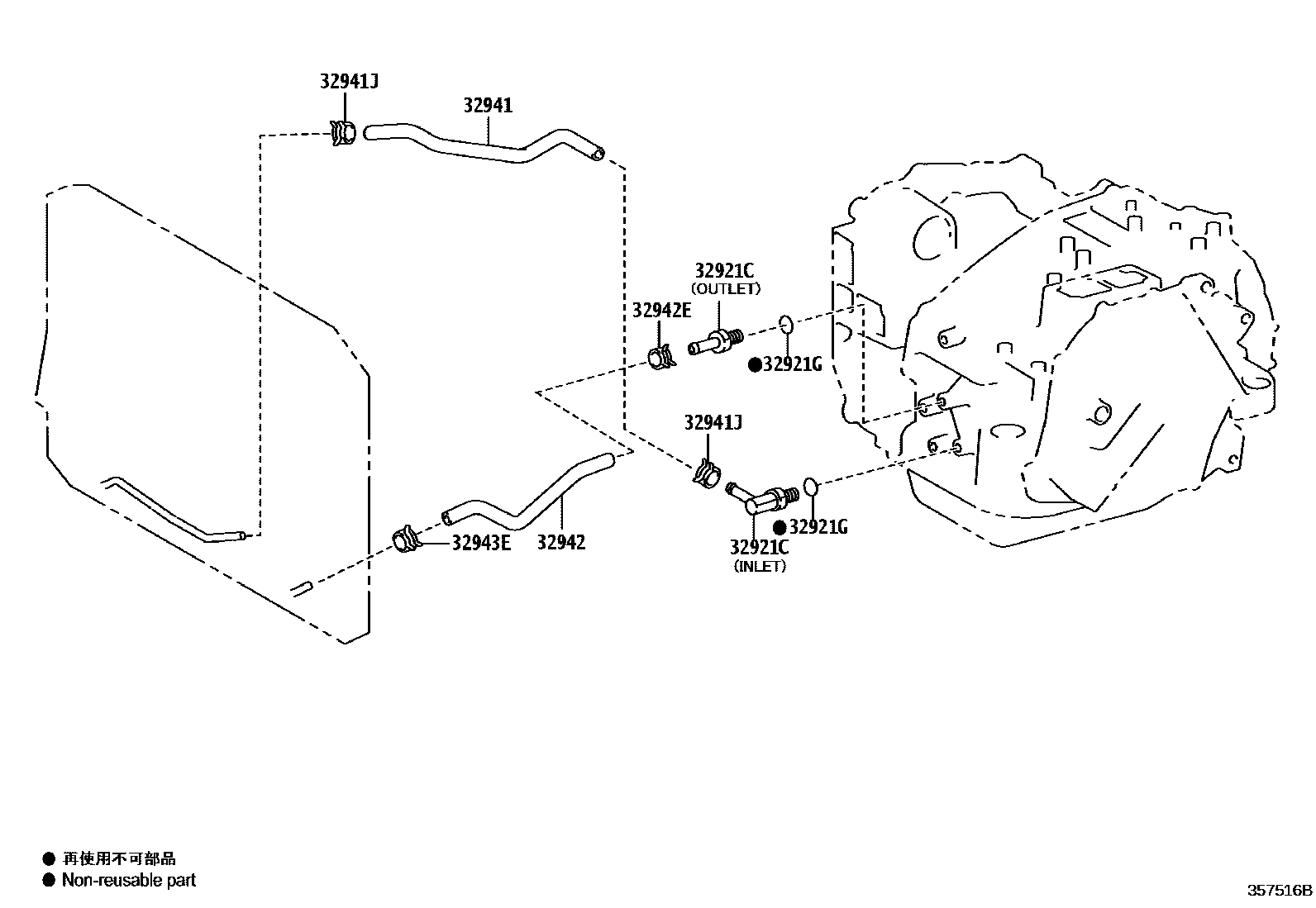
OIL COOLER & TUBE (ATM)

32921TUBE, OIL COOLER INLET, NO.1
32921CUNION(FOR OIL COOLER TUBE)
OUTLET
INLET
INLET
OUTLET
32921GRING, O(FOR OIL COOLER TUBE UNION)
*285
*325
32941HOSE, OIL COOLER INLET, NO.1
32941JCLIP, NO.1(FOR OIL COOLER HOSE)
32942HOSE, OIL COOLER OUTLET, NO.1
TOWING PACKAGE-3500LBS
TOWING PACKAGE-3500LBS
32942ECLIP, NO.2(FOR OIL COOLER HOSE)
32943ECLIP, NO.3(FOR OIL COOLER HOSE)
TOWING PACKAGE-3500LBS
TOWING PACKAGE-3500LBS
8 parts on this diagram · 6 diagrams in section