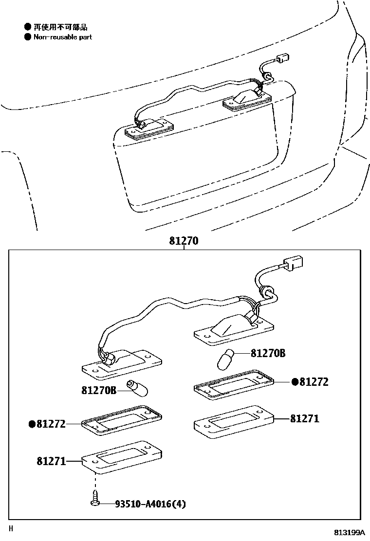
REAR LICENSE PLATE LAMP

81270LAMP ASSY, LICENSE PLATE
81270BBULB (FOR LICENSE PLATE LAMP)
12V 5W
81271LENS, LICENSE PLATE LAMP
81272GASKET, LICENSE PLATE LAMP LENS
93510A4016
main93510-A4016
5 parts on this diagram · 1 diagram in section

5 parts on this diagram · 1 diagram in section