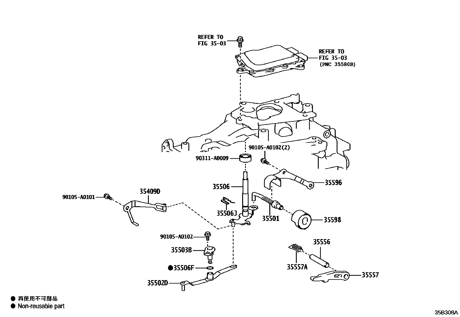
THROTTLE LINK & VALVE LEVER (ATM)

3503TRANSMISSION CASE & OIL PAN (ATM)
35409DSPRING SUB-ASSY, MANUAL DETENT
35501ROD SUB-ASSY, PARKING LOCK
35502DLEVER SUB-ASSY, MANUAL VALVE LINK
35503BSHAFT SUB-ASSY, MANUAL VALVE LINK
35506SHAFT SUB-ASSY, MANUAL VALVE LEVER
35506FSEAL, OIL (FOR MANUAL VALVE LEVER SHAFT)
35506JSPRING, RETAINER (FOR MANUAL VALVE LEVER SHAFT)
35556SHAFT, PARKING LOCK PAWL
35557PAWL, PARKING LOCK
35557ASPRING, TORSION (FOR PARKING LOCK PAWL)
35596PLATE, PAWL STOPPER
35598SLEEVE, PARKING LOCK
90105A0101
main90105-A0101
90105A0102
main90105-A0102
90311A0009
main90311-A0009
16 parts on this diagram · 1 diagram in section