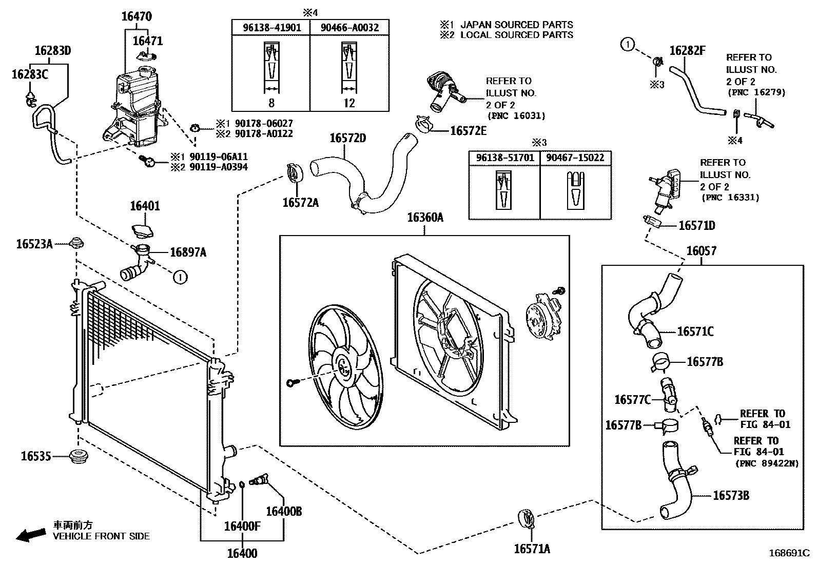
RADIATOR & WATER OUTLET

16057HOSE SUB-ASSY, RADIATOR
16282HOSE, WATER BY-PASS, NO.5
16282FHOSE, WATER BY-PASS, NO.5
16283HOSE, WATER BY-PASS, NO.6
16283CCLAMP OR CLIP(FOR WATER BY-PASS HOSE)
16283DHOSE, WATER BY-PASS, NO.6
16360AFAN ASSY, W/MOTOR
16400BPLUG, RADIATOR DRAIN COCK
sub16417-21280
16400FPACKING(FOR RADIATOR DRAIN COCK)
16401CAP SUB-ASSY, RADIATOR
16470TANK ASSY, RADIATOR RESERVE
16471CAP SUB-ASSY, RESERVE TANK
16523ACUSHION, RADIATOR SUPPORT
16535SUPPORT, RADIATOR, LOWER
16571ACLAMP OR CLIP, HOSE(FOR RADIATOR INLET)
(J)
(L)
16571CHOSE, RADIATOR, NO.1
16571DCLIP, RADIATOR HOSE, NO.1
(J)
(L)
16572ACLAMP OR CLIP, HOSE(FOR RADIATOR OUTLET NO.1)
(J)
(L)
16572DHOSE, RADIATOR, NO.2
16572ECLIP, RADIATOR HOSE, NO.2
(J)
(L)
16573BHOSE, RADIATOR, NO.3
16577BCLAMP OR CLIP, HOSE(FOR RADIATOR PIPE)
16577CPIPE, RADIATOR
16897ANECK, FILLER
8401
9011906A11
main90119-06A11
90119A0394
main90119-A0394
9017806027
main90178-06027
90178A0122
main90178-A0122
90466A0032
main90466-A0032
9046715022
main90467-15022
9613841901
main96138-41901
9613851701
main96138-51701
34 parts on this diagram · 9 diagrams in section