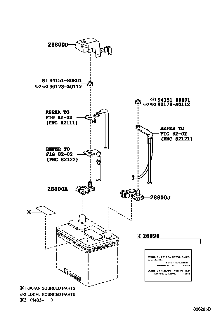
BATTERY & BATTERY CABLE

28800BATTERY
S55D23L
28800ATERMINAL, BATTERY POSITIVE
28800DCOVER, CONNECTOR(FOR BATTERY TERMINAL)
28800JTERMINAL, BATTERY NEGATIVE
28898PLATE, BATTERY
8202WIRING & CLAMP
90178A0112
main90178-A0112
9415180801
main94151-80801
8 parts on this diagram · 5 diagrams in section