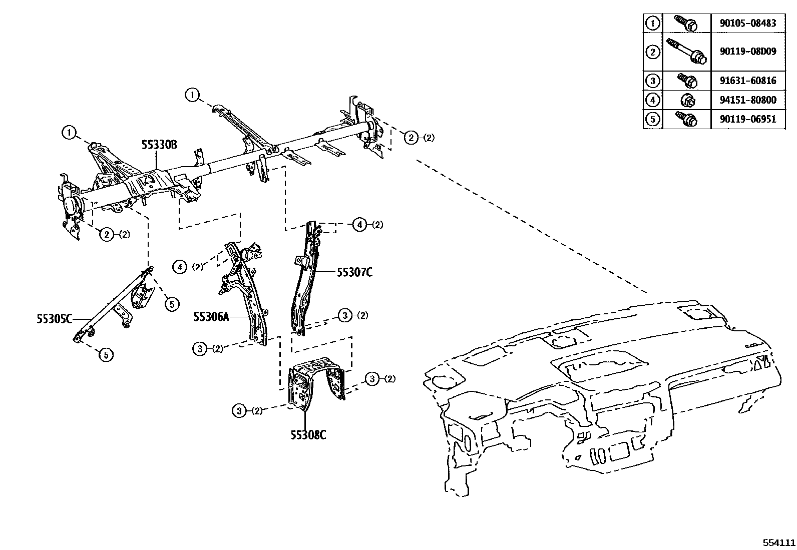
INSTRUMENT PANEL & GLOVE COMPARTMENT

55305CREINFORCEMENT SUB-ASSY, INSTRUMENT PANEL
55306ABRACE SUB-ASSY, INSTRUMENT PANEL, NO.1
55307CBRACE SUB-ASSY, INSTRUMENT PANEL, NO.2
55308CBRACKET SUB-ASSY, INSTRUMENT PANEL, CENTER
55330BREINFORCEMENT ASSY, INSTRUMENT PANEL
9010508483
main90105-08483
9011906951
main90119-06951
9011908D09
main90119-08D09
9163160816
main91631-60816
9415180800
main94151-80800
10 parts on this diagram · 10 diagrams in section