E
EPC Data

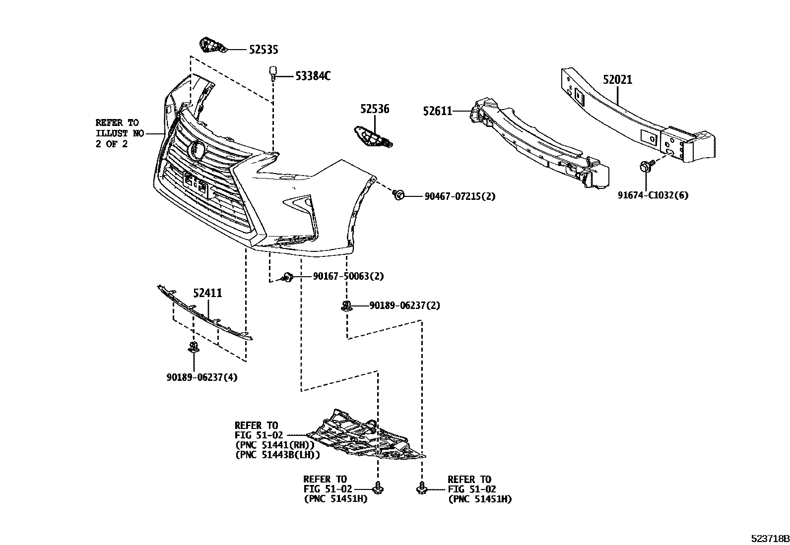
FRONT BUMPER & BUMPER STAY

Parts diagram
5102
52021REINFORCEMENT SUB-ASSY, FRONT BUMPER
main52021-48070i201908
main52021-48100i201712-201908
52411GUARD, FRONT BUMPER
main52411-48090supersedes 52411-48060i202107
PREMIUM PACKAGE&22MY US SE 3ROWS TMK&COLD AREA SPEC&PARKING SUPPORT ALART/BRAKE-WITH(*ICS & *RCTB)
52535RETAINER, FRONT BUMPER SIDE, RH
main52535-48050i201712-201908
52536RETAINER, FRONT BUMPER SIDE, LH
main52536-48040i201712-201908
52611ABSORBER, FRONT BUMPER ENERGY
main52611-48191i201712-201908
main52611-48241i201908
53384CCUSHION, HOOD, CENTER
main53384-22070×2i201712-201908
9016750063
9018906237
9046707215
91674C1032

11 parts on this diagram · 4 diagrams in section

FRONT BUMPER & BUMPER STAY — Toyota Parts Diagram with OEM Numbers & Prices | EPC Data