E
EPC Data
Pricing
Sign In
Home
›
US
›
522420
›
CRUISE CONTROL (AUTO DRIVE)
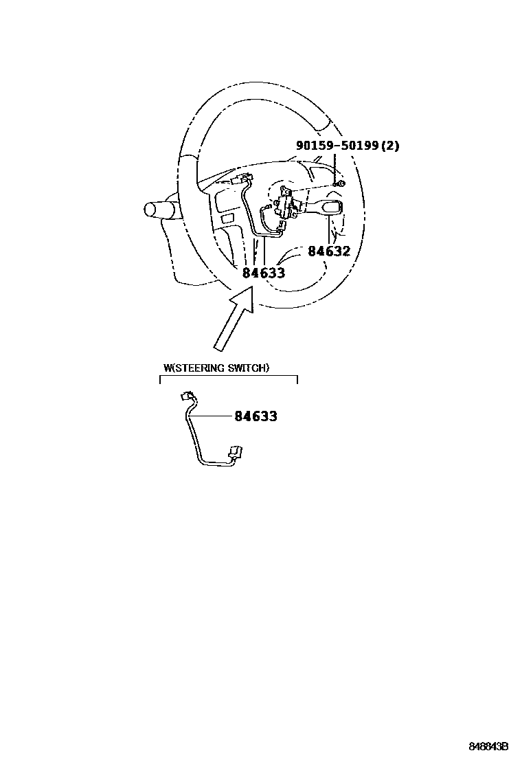
CRUISE CONTROL (AUTO DRIVE)
84632
SWITCH, CRUISE CONTROL MAIN
main
84632-34011
i
ASU40,GSU4#,MHU48
200705-201008
84633
WIRE, CRUISE CONTROL SWITCH
main
84633-48020
i
GVU48
201008
main
84633-71010
i
ASU40,GSU4#..STD
200705-201008
9015950199
main
90159-50199
3 parts on this diagram · 1 diagram in section
CRUISE CONTROL (AUTO DRIVE) — Toyota Parts Diagram with OEM Numbers & Prices | EPC Data