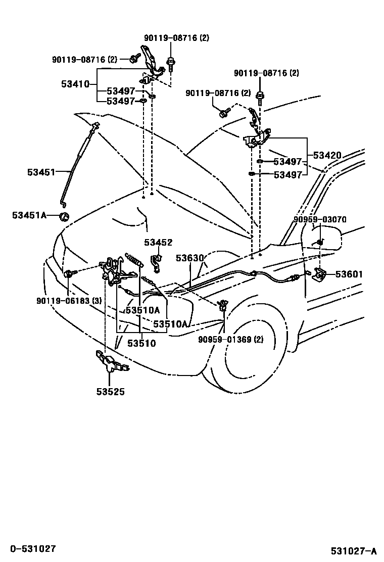
HOOD LOCK & HINGE

53410HINGE ASSY, HOOD, RH
53420HINGE ASSY, HOOD, LH
53451ROD, HOOD SUPPORT
53451AGROMMET(FOR HOOD SUPPORT ROD)
53452HOLDER, HOOD STAY
53497PAD, HOOD HINGE, NO.1
T=1.0
53510LOCK ASSY, HOOD
W(ANTI-THEFT DEVICE:IMMOBILIZER & ALARM)
W(ANTI-THEFT DEVICE:IMMOBILIZER & ALARM)
53510ASPRING, TENSION(FOR HOOD LOCK)
WD=0.9,CW=24.5
WD=0.9,CW=21
WD=2.0,CW=16.0
WD=2.0,CW=16,W(ANTI-THEFT DEVICE:IMMOBILIZER & ALARM)
53525PROTECTOR, HOOD LOCK RELEASE LEVER
53601LEVER SUB-ASSY, HOOD LOCK CONTROL
IVORY,TRIM0#
MD. CHARCOAL,TRIM1#
GRAY,TRIM1#
53630CABLE ASSY, HOOD LOCK CONTROL
9011906183
main90119-06183
9011908716
main90119-08716
9095901369
main90959-01369
9095903070
main90959-03070
15 parts on this diagram · 1 diagram in section