E
EPC Data

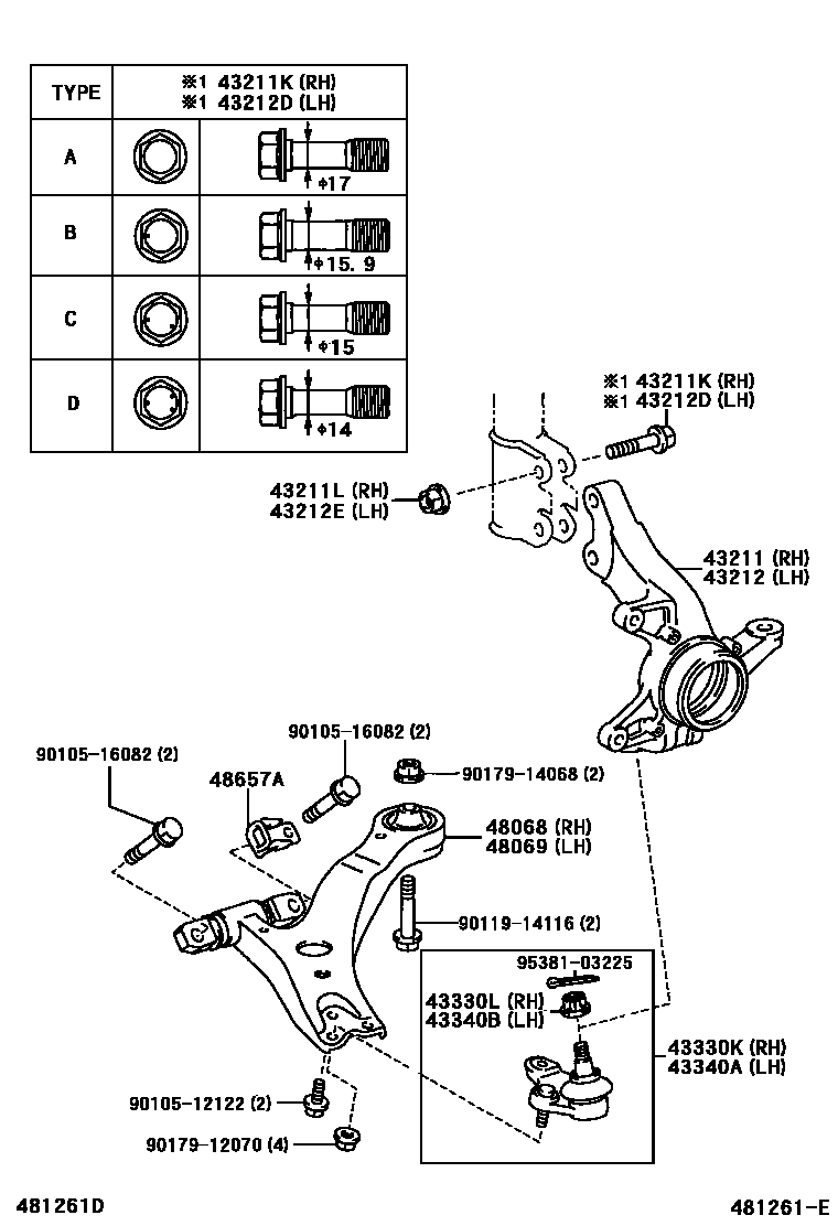
FRONT AXLE ARM & STEERING KNUCKLE

Parts diagram
43211KNUCKLE, STEERING, RH
main43211-28120i200011-200308
main43211-58020i200308
43211KBOLT (FOR STEERING KNUCKLE RH)
main90105-17008×2i200011-200302
OD=17,TYPE A:REFER TO ILLUSTRATION
main90105-17009i200011-200302
OD=15.9,TYPE B:REFER TO ILLUSTRATION
main90105-17010i200011-200302
OD=15,TYPE C:REFER TO ILLUSTRATION
main90105-17011i200011-200302
OD=14,TYPE D:REFER TO ILLUSTRATION
main90105-17012×2i200302-200308
OD=17,TYPE A:REFER TO ILLUSTRATION
main90105-17013i200302-200308
OD=15.9,TYPE B:REFER TO ILLUSTRATION
main90105-17014i200308-200705
OD=15,TYPE C:REFER TO ILLUSTRATION
main90105-17015i200302-200308
OD=14,TYPE D:REFER TO ILLUSTRATION
43211LNUT (FOR STEERING KNUCKLE RH)
main90178-17001×2i200011-200302
main90178-17002×2i200302-200308
43212KNUCKLE, STEERING, LH
main43212-28100i200011-200308
main43212-58020i200308
43212DBOLT (FOR STEERING KNUCKLE LH)
main90105-17008×2i200011-200302
OD=17,TYPE A:REFER TO ILLUSTRATION
main90105-17009i200011-200302
OD=15.9,TYPE B:REFER TO ILLUSTRATION
main90105-17010i200011-200302
OD=15,TYPE C:REFER TO ILLUSTRATION
main90105-17011i200011-200302
OD=14,TYPE D:REFER TO ILLUSTRATION
main90105-17012×2i200302-200308
OD=17,TYPE A:REFER TO ILLUSTRATION
main90105-17013i200302-200308
OD=15.9,TYPE B:REFER TO ILLUSTRATION
main90105-17014i200308-200705
OD=15,TYPE C:REFER TO ILLUSTRATION
main90105-17015i200302-200308
OD=14,TYPE D:REFER TO ILLUSTRATION
43212ENUT (FOR STEERING KNUCKLE LH)
main90178-17001×2i200011-200302
main90178-17002×2i200302-200308
43330KJOINT ASSY, LOWER BALL, FRONT RH
main43330-29405i200011-200308
43330LNUT, CASTLE (FOR FRONT LOWER BALL JOINT RH)
main90171-14003i200011-200308
43340AJOINT ASSY, LOWER BALL, FRONT LH
main43340-29175i200011-200308
43340BNUT, CASTLE (FOR FRONT LOWER BALL JOINT LH)
main90171-14003i200011-200308
48068ARM SUB-ASSY, FRONT SUSPENSION, LOWER NO.1 RH
main48068-28120i200011-200308
main48068-48020i200308
48069ARM SUB-ASSY, FRONT SUSPENSION, LOWER NO.1 LH
main48069-28120i200011-200308
main48069-48020i200308
48657ASTOPPER, FRONT LOWER ARM BUSH
main48657-28010×2i200011-200308
9010512122
9010516082
9011914116
9017912070
9017914068
9538103225

19 parts on this diagram · 1 diagram in section