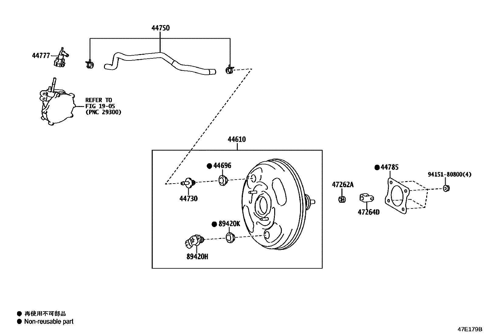
BRAKE BOOSTER & VACUUM TUBE

1905VACUUM PUMP
44610BOOSTER ASSY, BRAKE
44696GROMMET, CHECK VALVE
44730VALVE ASSY, VACUUM CHECK(FOR BRAKE)
44750HOSE ASSY, VACUUM
44777CONNECTOR, VACUUM HOSE, NO.1
44785GASKET, BRAKE BOOSTER
47262ANUT, MASTER CYLINDER PUSH ROD CLEVIS LOCK
47264DCLEVIS, BRAKE MASTER CYLINDER PUSH ROD
89420HSENSOR ASSY, VACUUM
89420KGROMMET, VACUUM SENSOR
9415180800
main94151-80800
12 parts on this diagram · 1 diagram in section