E
EPC Data

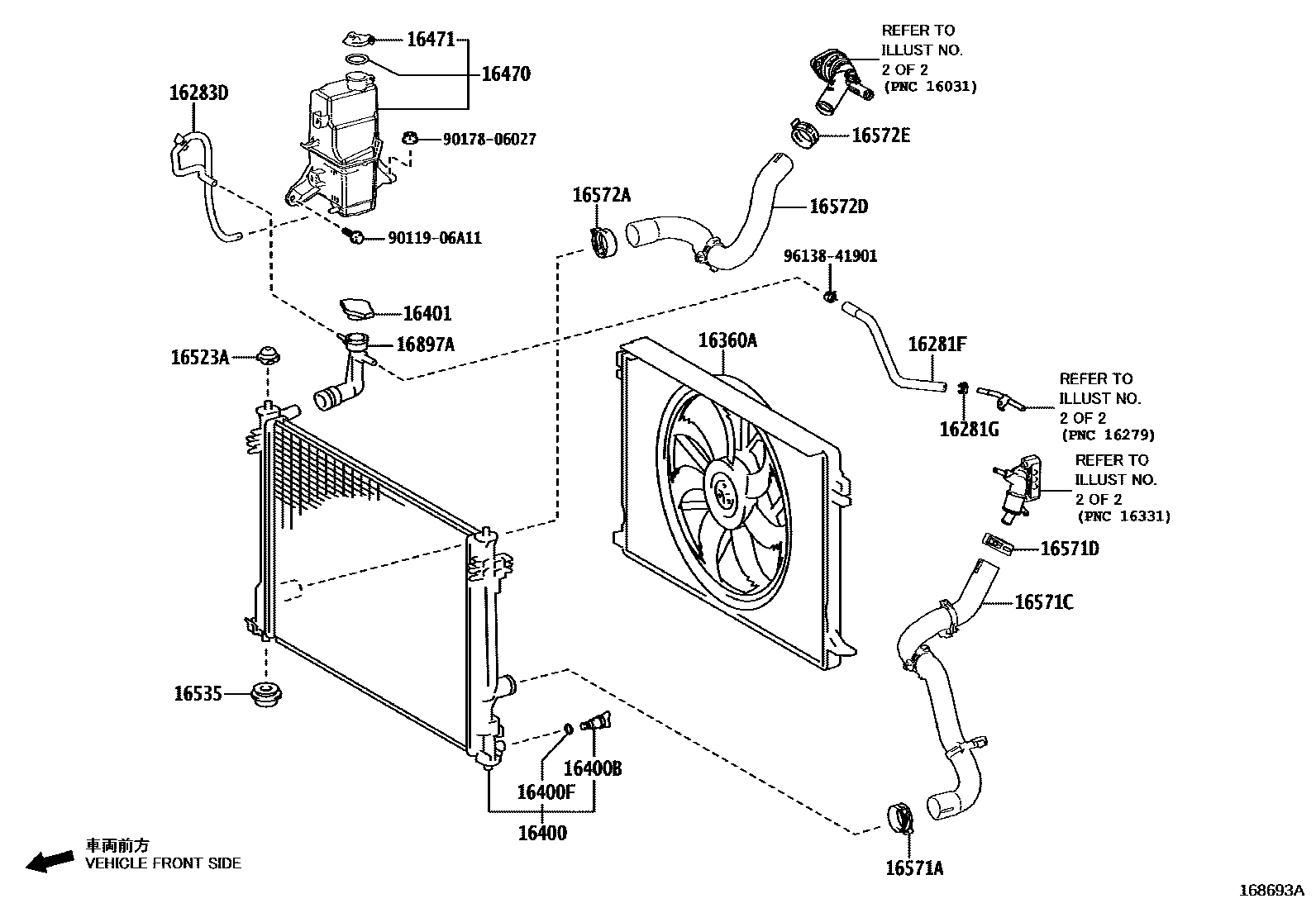
RADIATOR & WATER OUTLET

Parts diagram
16281HOSE, WATER BY-PASS, NO.4
main16281-25060i202211
main99555-10200i202211
16281FHOSE, WATER BY-PASS, NO.5
main16282-25160i202211
main16282-25190i202211
16281GCLIP(FOR WATER BY-PASS HOSE NO.5)
main90467-15022i202211
NO.2
main96138-41901i202211
NO.1
16283HOSE, WATER BY-PASS, NO.6
main16283-25020i202211
16283DHOSE, WATER BY-PASS, NO.6
main16283-25100i202211
main16283-25140i202211
16360AFAN ASSY, W/MOTOR
main16360-25050i202211
main16360-25060i202211
16400RADIATOR ASSY
main16400-25160i202211
main16400-25200i202211
16400BPLUG, RADIATOR DRAIN COCK
main16417-21280i202211
16400FPACKING(FOR RADIATOR DRAIN COCK)
main16492-21050i202211
16401CAP SUB-ASSY, RADIATOR
main16401-36030i202211
16470TANK ASSY, RADIATOR RESERVE
main16470-25060i202211
16471CAP SUB-ASSY, RESERVE TANK
main16471-23010i202211
16523ACUSHION, RADIATOR SUPPORT
main16523-25010×2i202211
16535SUPPORT, RADIATOR, LOWER
main16535-28030×2i202211
main16535-28060×2i202211
16571ACLAMP OR CLIP, HOSE(FOR RADIATOR INLET)
main90466-39002i202211
16571CHOSE, RADIATOR, NO.1
main16571-25140i202211
main16571-25170i202211
main16571-25180i202211
16571DCLIP, RADIATOR HOSE, NO.1
main90466-39002×2i202211
main90466-43002i202211
16572ACLAMP OR CLIP, HOSE(FOR RADIATOR OUTLET NO.1)
main90466-39002i202211
16572DHOSE, RADIATOR, NO.2
main16572-25110i202211
main16572-25120i202211
16572ECLIP, RADIATOR HOSE, NO.2
main90466-39002×2i202211
main90466-43002i202211
16897ANECK, FILLER
main16897-25041i202211
main16897-25070i202211
9011906A11
9017806027
9613841901

24 parts on this diagram · 10 diagrams in section

RADIATOR & WATER OUTLET — Toyota Parts Diagram with OEM Numbers & Prices | EPC Data