E
EPC Data

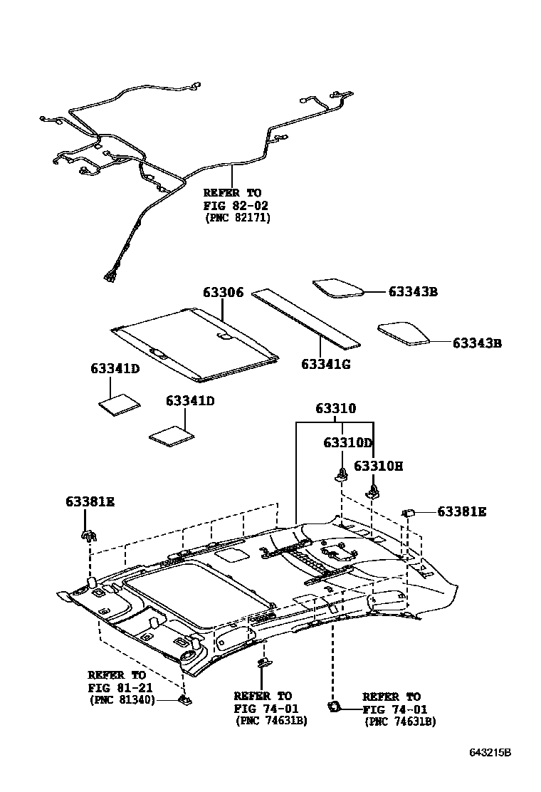
ROOF HEADLINING & SILENCER PAD

Parts diagram
63306TRIM SUB-ASSY, SUNSHADE
main63306-50070-A4i201209-201708
IVORY,TRIM0#,41,5#
main63306-50070-B0i201209-201708
LT.GRAY,TRIM1#,2#,40
63310HEADLINING ASSY, ROOF
main63311-5A380-A2i201209-201410
IVORY,TRIM0#,41,5#
main63311-5A380-A2i201410-201609
IVORY,TRIM0#,4#,5#
main63311-5A380-B1i201209-201410
LT.GRAY,TRIM1#,2#,40
main63311-5A380-B1i201410-201609
LT.GRAY,TRIM1#,2#
main63311-5A440-A3i201609-201708
IVORY,TRIM0#,4#,5#
main63311-5A440-B1i201609-201708
LT.GRAY,TRIM1#,2#
63310DCLIP, ROOF HEADLINING
main90467-09126i201209
63310HCLIP(FOR ROOF HEADLINING)
main90467-10181i201209
63341PAD, ROOF SILENCER, NO.1
main63693-50080i201609
63341DPAD, ROOF SILENCER, FRONT
main63691-50100i201209
63341GPAD, ROOF SILENCER
main63693-50070i201209-201609
63343BPAD, ROOF SILENCER, REAR
main63693-50090i201209
63381ERETAINER, ROOF HEADLINING TRIM, FRONT
main63381-50020i201209
7401
8121
8202

12 parts on this diagram · 4 diagrams in section

ROOF HEADLINING & SILENCER PAD — Toyota Parts Diagram with OEM Numbers & Prices | EPC Data