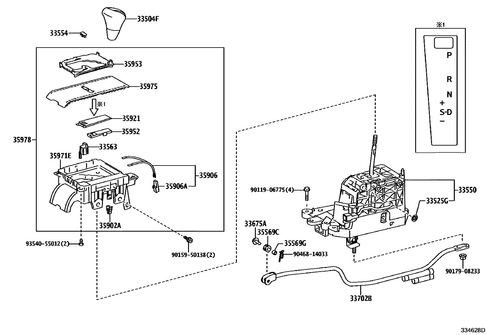
SHIFT LEVER & RETAINER

33504FKNOB SUB-ASSY, SHIFT LEVER
33525GRING, SHIFT LEVER
33554CAP, SHIFT LEVER
33563BUTTON, SHIFT LOCK RELEASE
33675APIN, W/HOLE (FOR TRANSMISSION CONTROL ROD)
33702BROD SUB-ASSY, GEAR SHIFTING, NO.1 (FOR FLOOR SHIFT)
35569CGROMMET (FOR TRANSMISSION CONTROL ROD)
35569GBUSH (FOR TRANSMISSION CONTROL ROD)
35902ACLIP, COVER SUB-ASSY, POSITION INDICATOR HOUSING
35906WIRE SUB-ASSY, INDICATOR LAMP
35906AHOUSING, CONNECTOR MALE (FOR INDICATOR LAMP WIRE)
35921PLATE, CONTROL POSITION INDICATOR
35952LENS, POSITION INDICATOR
35953GUIDE, POSITION INDICATOR LIGHT
35971EHOUSING, POSITION INDICATOR
35975COVER, SLIDE (FOR POSITION INDICATOR)
9011906775
main90119-06775
9015950138
main90159-50138
9017908233
main90179-08233
9046814033
main90468-14033
9354055012
main93540-55012
23 parts on this diagram · 1 diagram in section