E
EPC Data

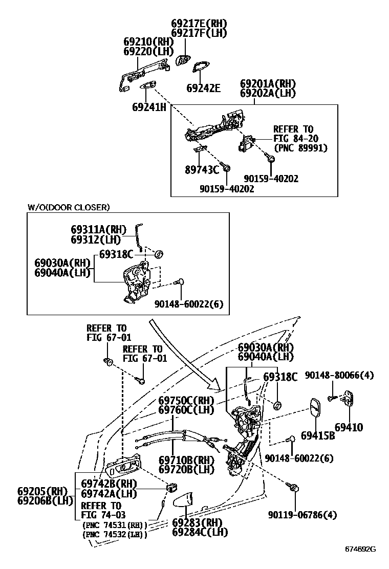
FRONT DOOR LOCK & HANDLE

Parts diagram
6701FRONT DOOR PANEL & GLASS
69030ALOCK ASSY, FRONT DOOR W/MOTOR, RH
main69030-42230i200909-201209
main69030-50320i200909-201209
AUTO & EASY CLOSER DOOR-W(DOOR & LUG CLOSER & POWER TRUNK LID); REAR COMFORT PACKAGE; VERSION U OR U I PACKAGE OR KOREA SPEC; W(OTTOMAN:4 SEAT); W(OTTOMAN:5 SEAT)
main69030-50270supersedes 69030-42230i200608-200809
AUTO & EASY CLOSER DOOR-W(DOOR & LUGAGE CLOSER &POWER TRUNK LID); KOREA SPEC&AUTO & EASY CLOSER DOOR-WITH(DOOR&LUGGAGE CLOSER); USA POSSESSIONS&AUTO & EASY CLOSER DOOR-WITH(DOOR&LUGGAGE CLOSER)
69040ALOCK ASSY, FRONT DOOR W/MOTOR, LH
main69040-42250i200909-201209
main69040-50300i200909-201209
AUTO & EASY CLOSER DOOR-W(DOOR & LUG CLOSER & POWER TRUNK LID); REAR COMFORT PACKAGE; VERSION U OR U I PACKAGE OR KOREA SPEC; W(OTTOMAN:4 SEAT); W(OTTOMAN:5 SEAT)
main69040-50250supersedes 69040-42250i200608-200809
AUTO & EASY CLOSER DOOR-W(DOOR & LUGAGE CLOSER &POWER TRUNK LID); KOREA SPEC&AUTO & EASY CLOSER DOOR-WITH(DOOR&LUGGAGE CLOSER); USA POSSESSIONS&AUTO & EASY CLOSER DOOR-WITH(DOOR&LUGGAGE CLOSER)
69201AFRAME SUB-ASSY, FRONT DOOR OUTSIDE HANDLE, RH
main69201-50080i200909
69202AFRAME SUB-ASSY, FRONT DOOR OUTSIDE HANDLE, LH
main69202-50050i200608-200809
69205HANDLE SUB-ASSY, FRONT DOOR INSIDE, RH
main67605-50250-A0i200608-200809
IVORY,TRIM00
main67605-50250-A1i200909-201209
MELLOW WHITE,TRIM01,07
main67605-50250-A2i200909-201209
IVORY,TRIM00,06
main67605-50250-B0i200909-201209
LT.GRAY,TRIM1#
main67605-50250-C0i200809-200909
BLACK,TRIM2#
69206BHANDLE SUB-ASSY, FRONT DOOR INSIDE, LH
main67606-50250-A0i200809-200909
IVORY,TRIM00
main67606-50250-A1i200809-200909
MELLOW WHITE,TRIM01
main67606-50250-A2i200909-201209
IVORY,TRIM00,06
main67606-50250-B0i200809-200909
LT.GRAY,TRIM1#
main67606-50250-C0i200909-201209
BLACK,TRIM2#
69210HANDLE ASSY, FRONT DOOR, OUTSIDE RH
main69210-33090i200608-200809
PLATED
69217ECOVER, FRONT DOOR OUTSIDE HANDLE, RH
main69217-33040i200608-200809
*CR
69217FCOVER, FRONT DOOR OUTSIDE HANDLE, LH
main69218-33010i200809-200909
*CR
69220HANDLE ASSY, FRONT DOOR OUTSIDE, LH
main69220-33060i200608-200809
PLATED
69241HPAD, FRONT DOOR OUTSIDE HANDLE, FRONT
main69241-53010i200608-200809
RH
main69242-53010i200809-200909
LH
69242EPAD, FRONT DOOR OUTSIDE HANDLE, REAR
main69241-50030i200909
RH
main69242-50030i200809-200909
LH
69283PLUG, FRONT DOOR INSIDE HANDLE BEZEL, RH
main69283-30050-A0i200809-200909
IVORY,TRIM00
main69283-30050-A1i200809-200909
MELLOW WHITE,TRIM01
main69283-30050-A2i200909-201209
IVORY,TRIM00,06
main69283-30050-B0i200809-200909
LT.GRAY,TRIM1#
main69283-30050-C0i200809-200909
BLACK,TRIM2#
69284CPLUG, FRONT DOOR INSIDE HANDLE BEZEL, LH
main69284-30050-A0i200608-200809
IVORY,TRIM00
main69284-30050-A1i200608-200809
MELLOW WHITE,TRIM01
main69284-30050-A2i200909-201209
IVORY,TRIM00,06
main69284-30050-B0i200909-201209
LT.GRAY,TRIM1#
main69284-30050-C0i200608-200809
BLACK,TRIM2#
69311AROD, FRONT DOOR LOCK OPEN, RH
main69311-50050i200608-200809
69312ROD, FRONT DOOR LOCK OPEN, LH
main69312-50050i200608-200809
69318CSEAL, DOOR LOCK WIRING HARNESS
main69318-51010×2i200608-200809
69410PLATE ASSY, FRONT DOOR LOCK STRIKER
main69410-30060×2i200608-200809
69415BCOVER, DOOR LOCK STRIKER, FRONT
main69415-33010×2i200608-200809
69710BCABLE ASSY, FRONT DOOR LOCK REMOTE CONTROL, RH
main69710-50030i200608-200809
69720BCABLE ASSY, FRONT DOOR LOCK REMOTE CONTROL, LH
main69710-50030i200608-200809
69742AKNOB, REAR DOOR LOCK CONTROL, LH
main69742-50020-A0i200608-200809
IVORY,TRIM00
main69742-50020-A1i200809-200909
MELLOW WHITE,TRIM01
main69742-50020-A2i200909-201209
IVORY,TRIM00,06
main69742-50020-B0i200608-200809
LT.GRAY,TRIM1#
main69742-50020-C0i200909-201209
BLACK,TRIM2#
69742BKNOB, FRONT DOOR LOCK CONTROL, RH
main69741-50020-A0i200608-200809
IVORY,TRIM00
main69741-50020-A1i200809-200909
MELLOW WHITE,TRIM01
main69741-50020-A2i200909-201209
IVORY,TRIM00,06
main69741-50020-B0i200608-200809
LT.GRAY,TRIM1#
main69741-50020-C0i200608-200809
BLACK,TRIM2#
69750CCABLE ASSY, FRONT DOOR INSIDE LOCKING, RH
main69750-50050i200608-200809
69760CCABLE ASSY, FRONT DOOR INSIDE LOCKING LH
main69750-50050i200608-200809
7403CAUTION PLATE (EXTERIOR & INTERIOR)
8420WIRELESS DOOR LOCK
89743CBRACKET, ELECTRICAL KEY WIRE HARNESS
main89743-53010i200608-200809
RH
main89743-53020i200809-200909
LH
9011906786
9014860022
9014880066
9015940202

33 parts on this diagram · 1 diagram in section

FRONT DOOR LOCK & HANDLE — Toyota Parts Diagram with OEM Numbers & Prices | EPC Data