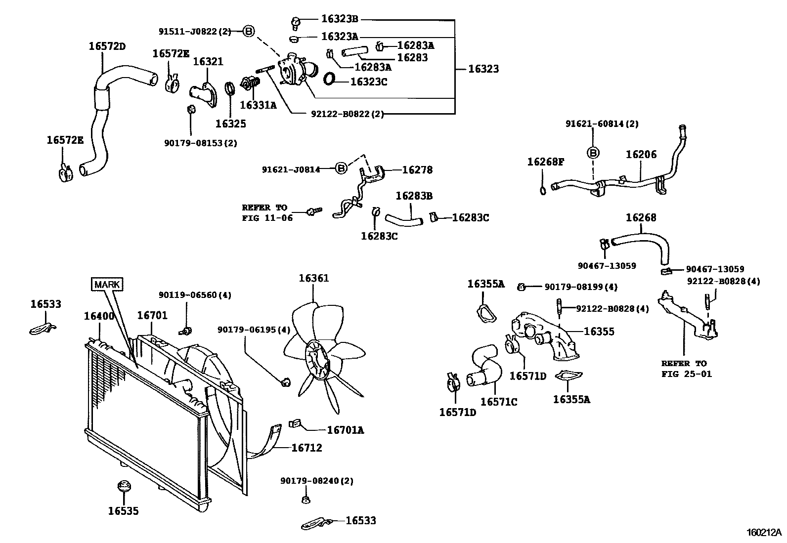
RADIATOR & WATER OUTLET

1106TIMING GEAR COVER & REAR END PLATE
16206PIPE SUB-ASSY, WATER BY-PASS
16268PIPE, WATER BY-PASS, NO.1
16268FRING, O(FOR WATER BY-PASS PIPE)
16278PIPE, WATER BY-PASS, NO.2
16283HOSE, WATER BY-PASS, NO.6
L=85
16283ACLAMP OR CLIP(FOR WATER BY-PASS HOSE NO.6)
16283BHOSE, WATER BY-PASS
16283CCLAMP OR CLIP(FOR WATER BY-PASS HOSE)
16323HOUSING, WATER INLET
16323AGASKET(FOR WATER INLET HOUSING)
16323BPLUG(FOR WATER INLET HOUSING)
16323CRING, O(FOR WATER INLET HOUSING)
16325GASKET, WATER INLET HOUSING, NO.1
16331ATHERMOSTAT
*WAX 82-95
*WAX 82-95
16355JOINT, WATER BY-PASS, FRONT
16355AGASKET(FOR WATER BY-PASS JOINT FRONT)
16361FAN
16400RADIATOR ASSY
MARK = 5013
MARK = 5015
16533SUPPORT, RADIATOR, UPPER
RH
LH
16535SUPPORT, RADIATOR, LOWER
16571CHOSE, RADIATOR, NO.1
16571DCLIP, RADIATOR HOSE, NO.1
NO.1
NO.2
16572DHOSE, RADIATOR, NO.2
16572ECLIP, RADIATOR HOSE, NO.2
16701SHROUD SUB-ASSY, FAN
16701ACLIP(FOR FAN SHROUD)
16712SHROUD, FAN, NO.2
2501EXHAUST GAS RECIRCULATION SYSTEM
9011906560
main90119-06560
9017906195
main90179-06195
9017908153
main90179-08153
9017908199
main90179-08199
9017908240
main90179-08240
9046713059
main90467-13059
91511J0822
main91511-J0822
9162160814
main91621-60814
91621J0814
main91621-J0814
92122B0822
main92122-B0822
92122B0828
main92122-B0828
41 parts on this diagram · 3 diagrams in section