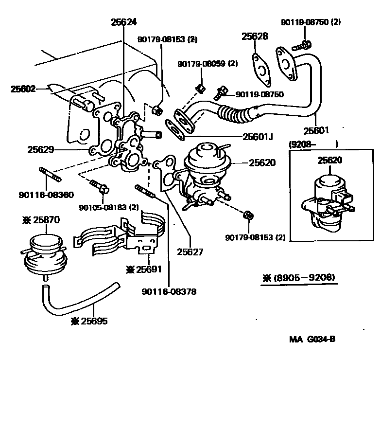
EXHAUST GAS RECIRCULATION SYSTEM

25601PIPE SUB-ASSY, EGR, NO.1
CALIFORNIA SPEC
25601JGASKET(FOR EGR PIPE, NO.1)
25602PIPE SUB-ASSY, EGR, NO.2
25620VALVE ASSY, EGR
25624ADAPTER, EGR VALVE
CALIFORNIA SPEC
25627GASKET, EGR VALVE
25628GASKET, EGR INLET
25629GASKET, EGR VALVE ADAPTER
25691BRACKET, EGR VACUUM MODULATOR
25695HOSE, EGR VACUUM MODULATOR
25870VALVE ASSY, EGR VACUUM MODULATOR
9010508183
main90105-08183
9011608360
main90116-08360
9011608378
main90116-08378
9011908750
main90119-08750
9017908059
main90179-08059
9017908153
main90179-08153
17 parts on this diagram · 1 diagram in section