E
EPC Data

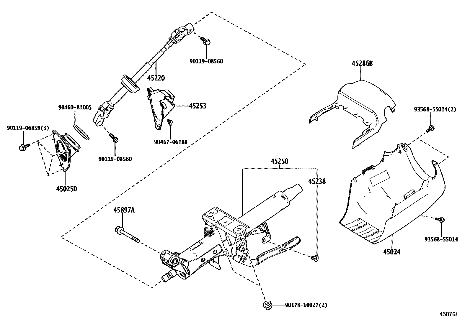
STEERING COLUMN & SHAFT

Parts diagram
45024COVER SUB-ASSY, STEERING COLUMN, LOWER
main45024-30140-C0i202406
BLACK,TRIM0#,2#,4#
main45024-30140-C0i202406
BLACK,TRIM2#,4#
45025DCOVER SUB-ASSY, STEERING COLUMN HOLE, NO.1
main45025-48110i202406
45220SHAFT ASSY, STEERING INTERMEDIATE
main45220-42010i202406
45238CLAMP, BOLT(FOR STEERING FLEXIBLE COUPLING)
main45238-52010i202406
45250COLUMN ASSY, STEERING
main45250-60D90i202406
45253COVER, STEERING COLUMN HOLE
main45253-48070i202406
45286BCOVER, STEERING COLUMN, UPR
main45286-30A80-C0i202406
BLACK,TRIM0#,2#,4#
main45286-30A80-C0i202406
BLACK,TRIM2#,4#
45897ABOLT, TILT STEERING PAWL SET
main90119-10A34i202406
9011906859
9011908560
9017810027
9046081005
9046706188
9356855014

14 parts on this diagram · 1 diagram in section

STEERING COLUMN & SHAFT — Toyota Parts Diagram with OEM Numbers & Prices | EPC Data