E
EPC Data

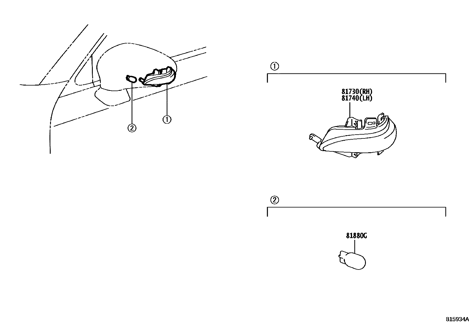
SIDE TURN SIGNAL LAMP & OUTER MIRROR LAMP

Parts diagram
81730LAMP ASSY, SIDE TURN SIGNAL, RH
main81730-76010i201112-202007
81740LAMP ASSY, SIDE TURN SIGNAL, LH
main81740-76010i201112-202007
81880GBULB, OUTER MIRROR LAMP ASSY
main99132-12050i201112-202007
12V 5W

3 parts on this diagram · 1 diagram in section

SIDE TURN SIGNAL LAMP & OUTER MIRROR LAMP — Toyota Parts Diagram with OEM Numbers & Prices | EPC Data