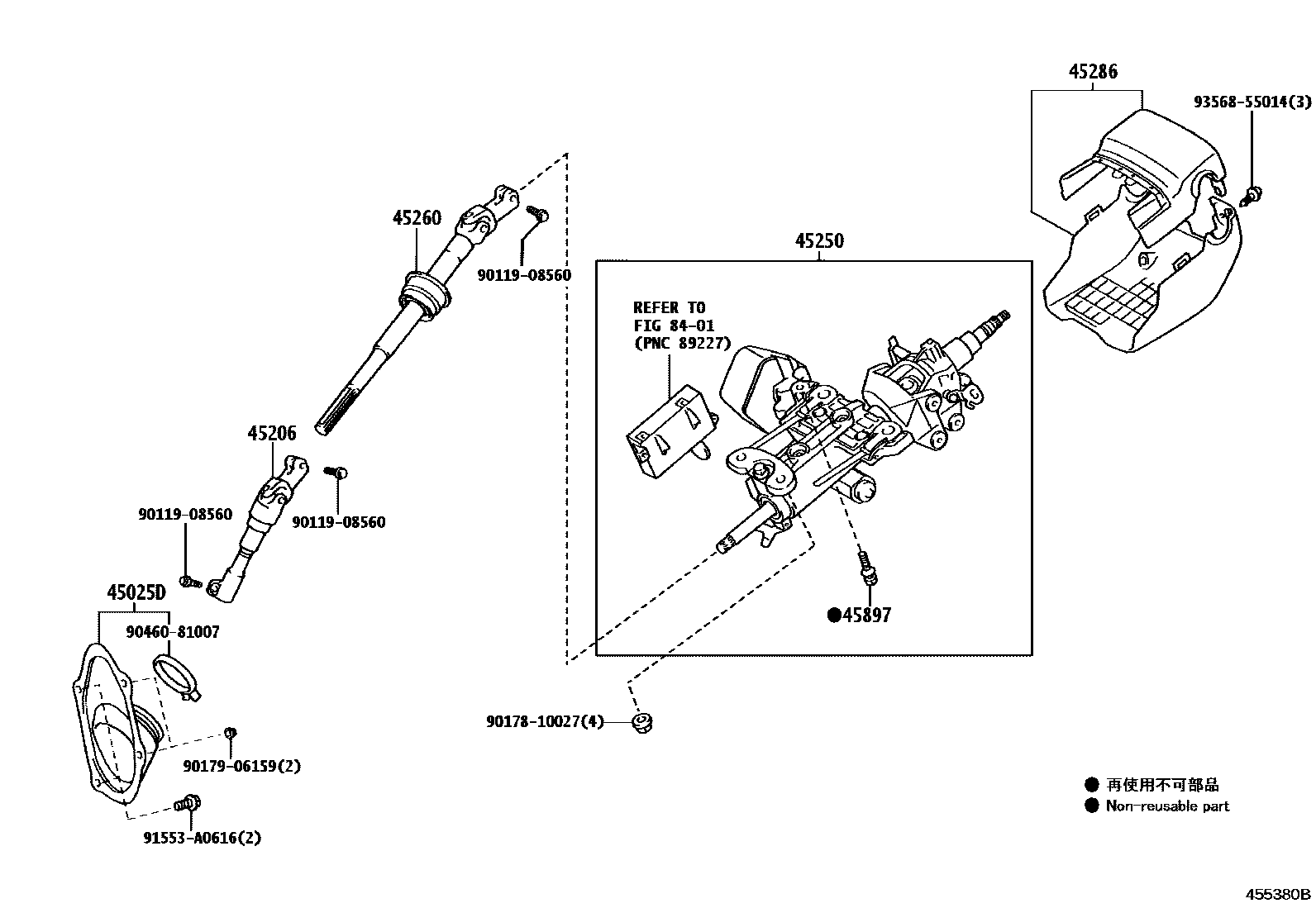
STEERING COLUMN & SHAFT

45025DCOVER SUB-ASSY, STEERING COLUMN HOLE, NO.1
45206YOKE SUB-ASSY, STEERING SLIDING W/SHAFT
PAINTED=GREEN
PAINTED=GOLD
45250COLUMN ASSY, STEERING
45260SHAFT ASSY, STEERING INTERMEDIATE, NO.2
45286COVER, STEERING COLUMN
BLACK,TRIM1#,2#
ORCHID BROWN,TRIM0#
45897BOLT, STEERING LOCK SET
8401SWITCH & RELAY & COMPUTER
9011908560
main90119-08560
9017810027
main90178-10027
9017906159
main90179-06159
9046081007
main90460-81007
91553A0616
main91553-A0616
9356855014
main93568-55014
13 parts on this diagram · 6 diagrams in section