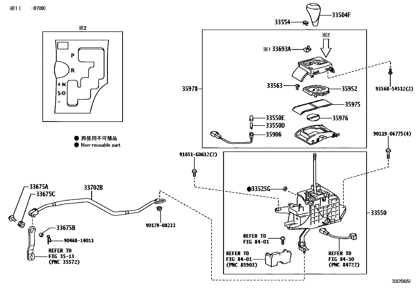
SHIFT LEVER & RETAINER

33504FKNOB SUB-ASSY, SHIFT LEVER
BLACK,TRIM1#,2#
BLACK,TRIM1#,2#
ORCHID BROWN,TRIM0#
REDDISH BROWN,TRIM2#; STEERING WHEEL-3-SPOKE WOOD & LEATHER,REDDISH BROWN,TRIM2#
BLACK & REDDISH BROWN,TRIM2#; STEERING WHEEL-3-SPOKE WOOD & LEATHER,BLACK & REDDISH BROWN,TRIM2#
ORCHID BROWN,TRIM01,03; STEERING WHEEL-3-SPOKE WOOD & LEATHER,ORCHID BROWN,TRIM01,03
DK.GRAY,TRIM1#; STEERING WHEEL-3-SPOKE WOOD & LEATHER,DK.GRAY,TRIM1#
MIDIUM BROWN,TRIM0#; STEERING WHEEL-3-SPOKE WOOD & LEATHER,MIDIUM BROWN,TRIM0#
BLACK,TRIM11; STEERING WHEEL-3-SPOKE WOOD & LEATHER,BLACK,TRIM11; STEERING WHEEL-3-SPOKE WOOD & LEATHER,BLACK,TRIM11,26
BLACK & DK.GRAY,TRIM1#; STEERING WHEEL-3-SPOKE WOOD & LEATHER,BLACK & DK.GRAY,TRIM1#
BLACK,TRIM10
ORCHID BROWN,TRIM0#; STEERING WHEEL-3-SPOKE WOOD & LEATHER,ORCHID BROWN,TRIM0#
33525GRING, SHIFT LEVER
33550FLOOR SHIFT ASSY, TRANSMISSION
33550DBULB, POSITION INDICATOR LAMP
12V 1.2W W/O SOCKET
33550ECAP, POSITION INDICATOR LAMP
33563BUTTON, SHIFT LOCK RELEASE
33675APIN, W/HOLE (FOR TRANSMISSION CONTROL ROD)
33675BBUSH (FOR TRANSMISSION CONTROL ROD)
33675CGROMMET (FOR TRANSMISSION CONTROL ROD)
33693ASHIM, SHIFT LEVER ADJUSTING (FOR FLOOR SHIFT)
33702BROD SUB-ASSY, GEAR SHIFTING, NO.1 (FOR FLOOR SHIFT)
3513THROTTLE LINK & VALVE LEVER (ATM)
35906WIRE SUB-ASSY, INDICATOR LAMP
35952LENS, POSITION INDICATOR
35975COVER, SLIDE (FOR POSITION INDICATOR)
35976COVER, SLIDE, NO.2 (FOR POSITION INDICATOR)
35978INDICATOR, SHIFT POSITION
8401SWITCH & RELAY & COMPUTER
8410OVERDRIVE & ELECTRONIC CONTROLLED TRANSMISSION
9011906775
main90119-06775
9017908233
main90179-08233
9046814011
main90468-14011
91651G0612
main91651-G0612
9356854512
main93568-54512
25 parts on this diagram · 2 diagrams in section