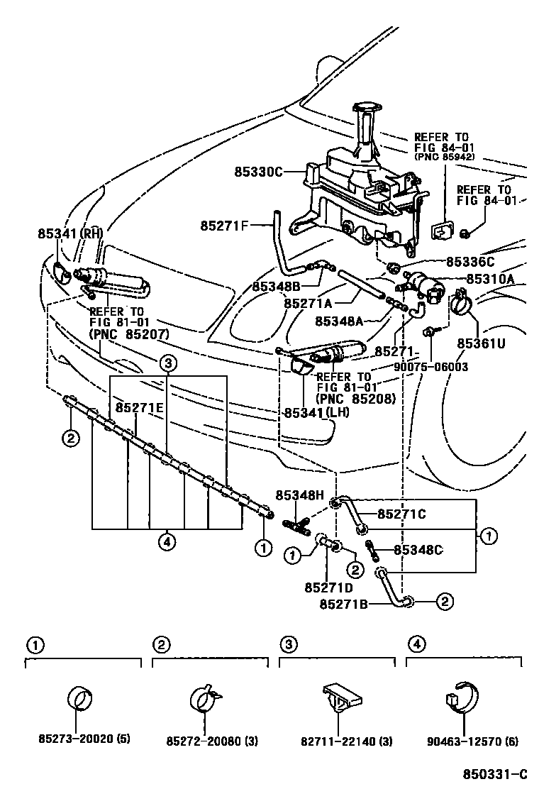
HEADLAMP CLEANER

8101HEADLAMP
8401SWITCH & RELAY & COMPUTER
85271HOSE, HEADLAMP CLEANER, NO.1
L=15
85271AHOSE, HEADLAMP CLEANER, NO.2
L=90
85271BHOSE, HEADLAMP CLEANER, NO.3
L=160
85271CHOSE, HEADLAMP CLEANER, NO.4
85271DHOSE, HEADLAMP CLEANER, NO.5
L=60
85271EHOSE, HEADLAMP CLEANER, NO.6
L=1124
85271FHOSE, HEADLAMP CLEANER, NO.7
L=250
85310AMOTOR AND PUMP ASSY, HEADLAMP CLEANER WASHER
85330CJAR ASSY, HEADLAMP CLEANER WASHER
85336CPACKING, HEADLAMP CLEANER MOTOR
85341NOZZLE, HEADLAMP CLEANER WASHER
SU.WHITE PM,051,RH
WHITE PEARL CS.,062,RH
IVORY PEARL CS.,066,RH
SILVER ME,199,RH
SILVER ME.,1C0,RH
SPECIAL EDITION(USA),DARK GRAY MC.,1C6,RH
SPORTS DESIGN(USA/HAWAII/CANADA/P.RICO),DARK GRAY MC.,1C6,RH
BLACK,202,RH
RED MC.,3N1,RH
BORDEAUX MC.,3P2,RH
COPPER BROWN M.M.MS.,4P1,RH
BEIGE SF.,4P2,RH
BEIGE ME.,4P7,RH
DK. GREEN MC.,6Q7,RH
GREEN M.M.,6S5,RH
DARK GREEN MC.,6S6,RH
BLUE MC.,8M6,RH
DARK BLUE MC.,8P8,RH
BLUE M.M.,8P9,RH
SU.WHITE PM,051,LH
WHITE PEARL CS.,062,LH
IVORY PEARL CS.,066,LH
SILVER ME,199,LH
SILVER ME.,1C0,LH
SPECIAL EDITION(USA),DARK GRAY MC.,1C6,LH
SPORTS DESIGN(USA/HAWAII/CANADA/P.RICO),DARK GRAY MC.,1C6,LH
BLACK,202,LH
RED MC.,3N1,LH
BORDEAUX MC.,3P2,LH
COPPER BROWN M.M.MS.,4P1,LH
BEIGE SF.,4P2,LH
BEIGE ME.,4P7,LH
DK. GREEN MC.,6Q7,LH
GREEN M.M.,6S5,LH
DARK GREEN MC.,6S6,LH
BLUE MC.,8M6,LH
DARK BLUE MC.,8P8,LH
BLUE M.M.,8P9,LH
85348AJOINT, HEADLAMP CLEANER HOSE, NO.1
85348BJOINT, HEADLAMP CLEANER HOSE, NO.2
85348CJOINT, HEADLAMP CLEANER HOSE, NO.3
85348HJOINT, HEADLAMP CLEANER HOSE, NO.4
85361UBRACKET, HEADLAMP CLEANER WASHER
8271122140WIRE, FUSE TO FUSE(FOR COMBUSTION HEATER)
main82711-22140
8527220080CABLE SUB-ASSY, HEADLAMP CLEANER, RH
main85272-20080
8527320020CABLE SUB-ASSY, HEADLAMP CLEANER, LH
main85273-20020
9007506003
main90075-06003
9046312570
main90463-12570
23 parts on this diagram · 1 diagram in section