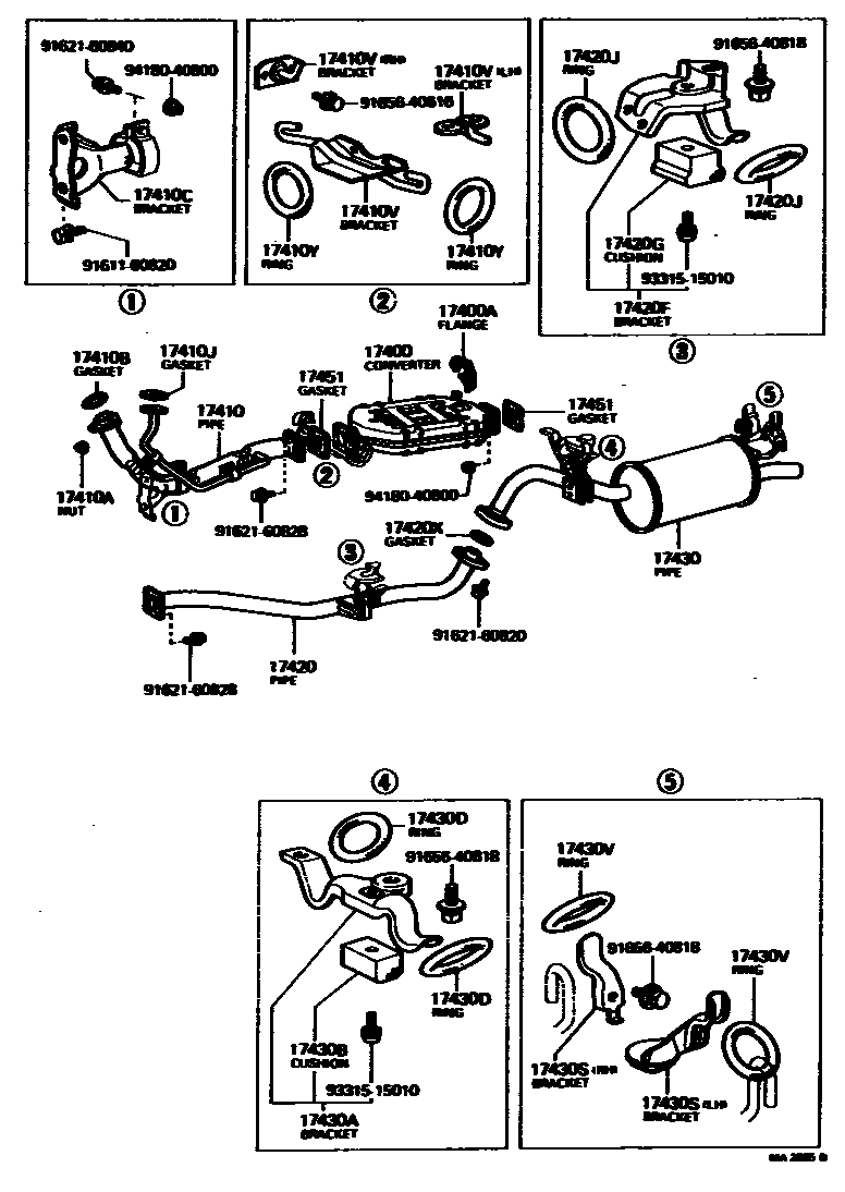
EXHAUST PIPE

17400CONVERTER ASSY, W/CATALYST
17400AFLANGE, THERMOSENSER INLET
17410PIPE ASSY, EXHAUST, FRONT
17410ANUT, EXHAUST PIPE SET STUD BOLT
17410BGASKET, EXHAUST PIPE
17410CBRACKET, EXHAUST PIPE FRONT (FOR FRONT)
17410JGASKET, CONVERTER AIR INLET PIPE
17410VBRACKET, EXHAUST PIPE FRONT (FOR REAR)
LH
RH
CENTER
CENTER
CENTER
17410YBOLT OR RING, EXHAUST PIPE FRONT (FOR REAR)
17420PIPE ASSY, EXHAUST, CENTER
17420FBRACKET, EXHAUST PIPE, CENTER
17420GCUSHION, EXHAUST PIPE CENTER, CENTER
17420JBOLT OR RING, EXHAUST PIPE CENTER
17420XGASKET, EXHAUST PIPE, CENTER
17430PIPE ASSY, EXHAUST, TAIL
17430ABRACKET, EXHAUST TAILPIPE(FOR FRONT)
17430BCUSHION, EXHAUST TAILPIPE(FOR FRONT)
17430DBOLT OR RING, EXHAUST TAILPIPE (FOR FRONT)
17430SBRACKET, EXHAUST TAILPIPE (FOR REAR)
LH
LH
RH
RH
LH
RH
17430VBOLT OR RING, EXHAUST TAILPIPE (FOR REAR)
17451GASKET, EXHAUST PIPE
REAR
FRONT
FRONT
9161160820
main91611-60820
9162160820
main91621-60820
9162160828
main91621-60828
9162160840
main91621-60840
9165640616
main91656-40616
9165640818
main91656-40818
9331515010
main93315-15010
9418040800
main94180-40800
29 parts on this diagram · 3 diagrams in section