E
EPC Data

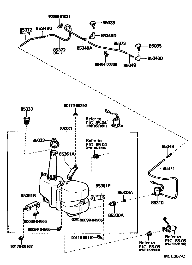
WINDSHIELD WASHER

Parts diagram
85033CAP ASSY, WINDSHIELD WASHER
main85332-14751i198912-199008
main85332-32161i198808-198908
85035NOZZLE SUB-ASSY, WASHER
main85035-14360×2i199008-199305
8504REAR WASHER
8505HEADLAMP CLEANER
85310MOTOR AND PUMP ASSY, WINDSHIELD WASHER
main85310-14080i198808-198908
85330ABUSH, WINDSHIELD WASHER JAR
main90099-32103i198808-198908
85331JAR SUB-ASSY, WINDSHIELD WASHER
main85331-14750i198808-198912
main85331-14751i198912-199008
main85331-14752i199008-199305
main85331-14760i198808-198810
main85331-14761i198908-199008
85333FILTER, WINDSHIELD WASHER JAR
main85333-12470i199008-199305
85333AFILTER, WINDSHIELD WASHER JAR, NO.2
main85333-20020i198908-199008
85348JOINT, WINDSHIELD WASHER HOSE, NO.1
main85334-22480i199108-199305
main85349-14010i198808-198908
85348DJOINT, WINDSHIELD WASHER ELBOW, NO.1
main85355-14481×2i198908-199008
85348GJOINT, WINDSHIELD WASHER HOSE, NO.2
main85349-14010i198908-199008
85349JOINT, WINDSHIELD WASHER HOSE, NO.1
main85349-89122i198808-198908
85349AJOINT, WINDSHIELD WASHER HOSE, NO.2
main85348-14390i198808-198908
85361ABRACKET, WINDSHIELD WASHER, NO.1
main85361-14340i198808-198908
main85361-14600i198808-199008
85361BBRACKET, WINDSHIELD WASHER, NO.2
main85362-14600i198908-199008
85361FBRACKET, WINDSHIELD WASHER, NO.3
main85363-14600i198808-198908
85371HOSE, WINDSHIELD WASHER (FROM MOTOR TO JOINT)
main90099-33075i198808-198908
L=1100
85372HOSE, WINDSHIELD WASHER (FROM JOINT TO JOINT), NO.1
main90099-33080i198808-198908
L=1450,NO.1,NO.2
85373HOSE, WINDSHIELD WASHER (FROM JOINT TO NOZZLE)
main90099-33080i198808-198908
L=1450
9009904565
9011906110
9017906162
9017906250
9046400300
9098901031

26 parts on this diagram · 1 diagram in section

WINDSHIELD WASHER — Toyota Parts Diagram with OEM Numbers & Prices | EPC Data