E
EPC Data

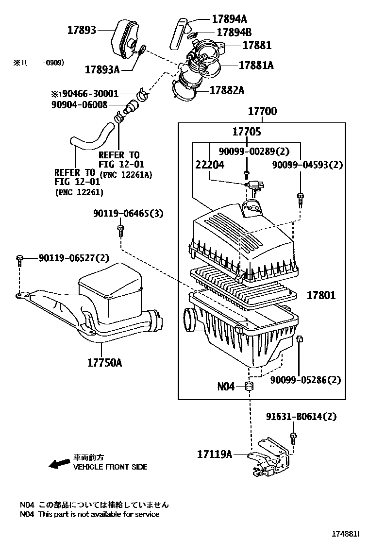
AIR CLEANER

Parts diagram
1201VENTILATION HOSE
17119ABRACKET, AIR CLEANER
main17119-31050i200603-200901
17700CLEANER ASSY, AIR
main17700-28270i200603-200612
main17700-28271i200701-200901
main17700-28272i201104-201108
17705CAP SUB-ASSY, AIR CLEANER
main17705-28230i200603-200612
main17705-28231i200701-200901
main17705-28232i201104-201108
17750AINLET ASSY, AIR CLEANER
main17750-28040i200603-200901
17801ELEMENT SUB-ASSY, AIR CLEANER FILTER
main17801-20040i200603-200901
17881HOSE, AIR CLEANER, NO.1
main17881-28250i200603-200901
17881ACLAMP(FOR AIR CLEANER HOSE, NO.1)
main96111-10880i200603-200901
17882ACLAMP(FOR AIR CLEANER HOSE, NO.2)
main90466-62002i200603-200901
17893RESONATOR, INTAKE AIR
main17893-28050i200603-200901
17893ACLAMP, HOSE
main96111-10430i200603-200901
17894ARESONATOR, INTAKE AIR, NO.2
main17894-28100i200603-200901
17894BCLAMP, HOSE(FOR INTAKE AIR RESONATOR, NO.2)
main96111-10400i200603-200901
22204METER SUB-ASSY, INTAKE AIR FLOW
main22204-31010i200603-200612
main22204-31020i200701-200901
9009900289
9009904593
9009905286
9011906465
9011906527
9046630001
9090406008
91631B0614

22 parts on this diagram · 1 diagram in section

AIR CLEANER — Toyota Parts Diagram with OEM Numbers & Prices | EPC Data