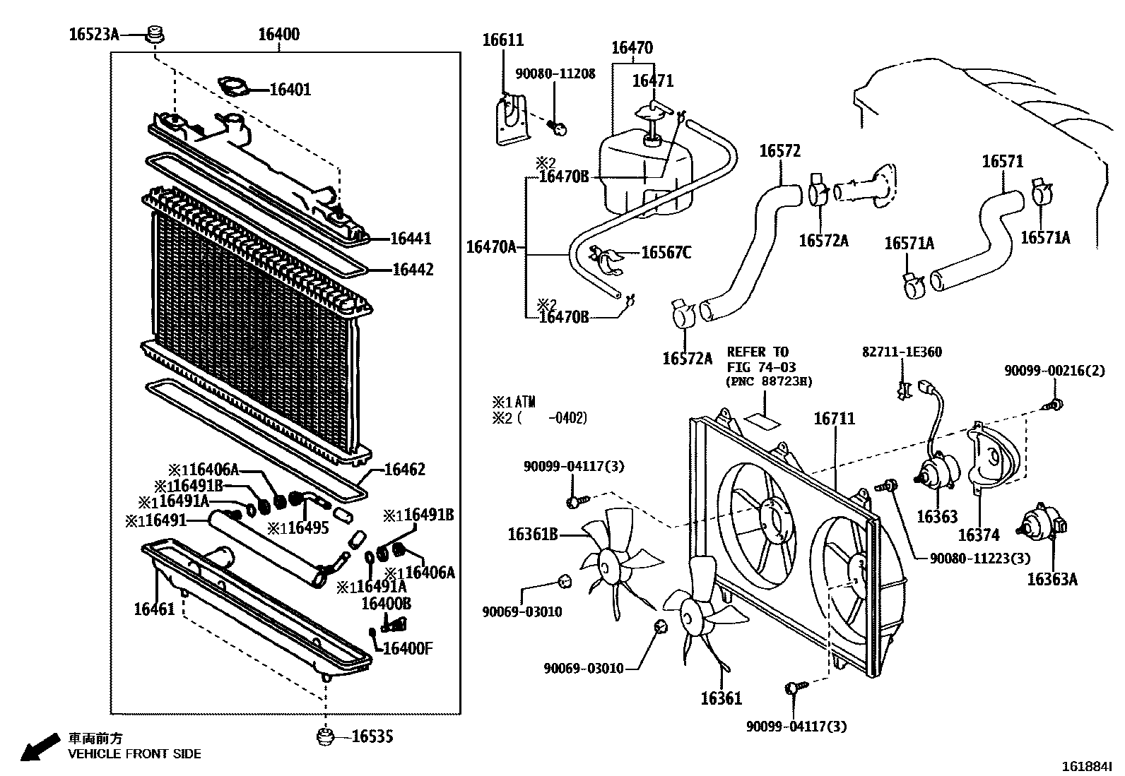
RADIATOR & WATER OUTLET

16361FAN
16361BFAN, NO.2
16363MOTOR, COOLING FAN
16363AMOTOR, COOLING FAN, NO.2
16374INSULATOR, COOLING FAN MOTOR
16400RADIATOR ASSY
16400BPLUG, RADIATOR DRAIN COCK
16400FPACKING(FOR RADIATOR DRAIN COCK)
16401CAP SUB-ASSY, RADIATOR
16406ASUPPORT(FOR OIL COOLER)
16441TANK, RADIATOR, UPPER
16442RING, O(FOR RADIATOR UPPER TANK)
16461TANK, RADIATOR, LOWER
16462RING, O(FOR RADIATOR LOWER TANK)
16470TANK ASSY, RADIATOR RESERVE
16470AHOSE OR PIPE(FOR RADIATOR RESERVE TANK)
*H,L=625
16470BCLAMP OR CLIP(FOR RADIATOR RESERVE TANK HOSE)
16471CAP SUB-ASSY, RESERVE TANK
16491COOLER, OIL(FOR ATM)
16491ARING, O(FOR ATM OIL COOLER)
16491BWASHER, PLATE(FOR ATM OIL COOLER)
16495NUT, FLARE(FOR ATM OIL COOLER)
16523ACUSHION, RADIATOR SUPPORT
16535SUPPORT, RADIATOR, LOWER
16567CCLAMP OR CLIP(FOR RADIATOR RESERVE TANK HOSE NO.3)
16571HOSE, RADIATOR, INLET
16571ACLAMP OR CLIP, HOSE(FOR RADIATOR INLET)
16572HOSE, RADIATOR, OUTLET
16572ACLAMP OR CLIP, HOSE(FOR RADIATOR OUTLET NO.1)
16611BRACKET, RADIATOR RESERVE TANK
16711SHROUD, FAN
7403CAUTION PLATE (EXTERIOR & INTERIOR)
827111E360WIRE, FUSE TO FUSE(FOR COMBUSTION HEATER)
main82711-1E360
9006903010
main90069-03010
9008011208
main90080-11208
9008011223
main90080-11223
9009900216
main90099-00216
9009904117
main90099-04117
38 parts on this diagram · 5 diagrams in section