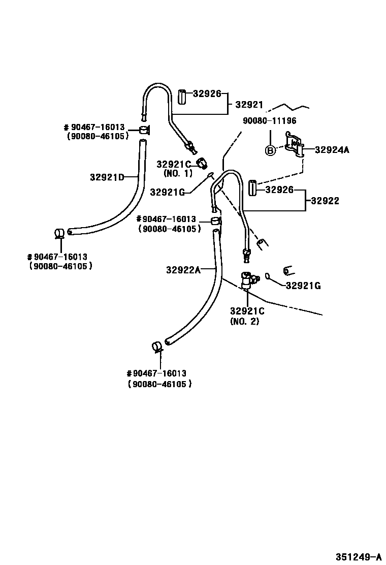
OIL COOLER & TUBE (ATM)

32921TUBE, OIL COOLER INLET, NO.1
32921CUNION(FOR OIL COOLER TUBE)
NO.2
NO.2
NO.1
NO.2
32921DHOSE(FOR OIL COOLER INLET)
32921GRING, O(FOR OIL COOLER TUBE UNION)
32922TUBE, OIL COOLER OUTLET, NO.1
32922AHOSE(FOR OIL COOLER OUTLET)
32924CLAMP, OIL COOLER TUBE, NO.2
32924ACLAMP(FOR OIL COOLER TUBE, NO.2)
32926CUSHION, OIL COOLER TUBE(ATM)
L=36,ID=10
L=35,ID=10
9008011196
main90080-11196
9008046105
main90080-46105
9046716013
main90467-16013
12 parts on this diagram · 4 diagrams in section