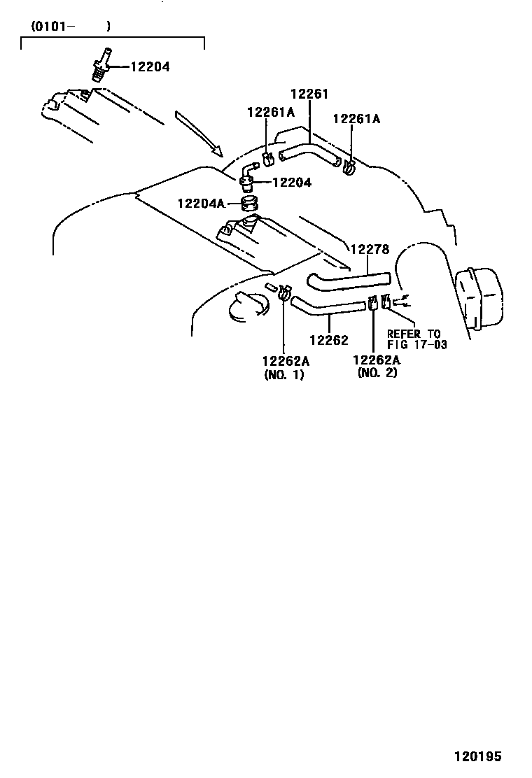
VENTILATION HOSE

12204VALVE SUB-ASSY, VENTILATION
12204AGROMMET(FOR VENTILATION SYSTEM)
12261ACLIP OR CLAMP(FOR VENTILATION HOSE)
12262HOSE, VENTILATION, NO.2
12278INSULATOR, VENTILATION HOSE HEAT
BRAZIL SPEC & W/O(VVT)
1703
8 parts on this diagram · 1 diagram in section