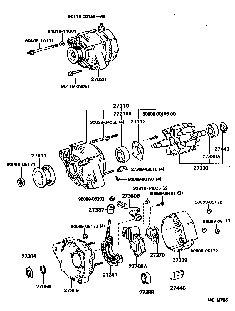
ALTERNATOR

27020ALTERNATOR ASSY
12V 80A
27039COVER, ALTERNATOR REAR END
27064SEAL, ALTERNATOR PLATE
27113PLATE, BEARING RETAINER, ALTERNATOR
27310FRAME ASSY, DRIVE END, ALTERNATOR
27310BBEARING(FOR ALTERNATOR DRIVE END FRAME)
27330ROTOR ASSY, ALTERNATOR
27330ABEARING(FOR ALTERNATOR ROTOR)
27350BCONDENSER, ALTERNATOR
27357HOLDER, ALTERNATOR, W/RECTIFIER
27359FRAME, ALTERNATOR RECTIFIER END
27370HOLDER ASSY, ALTERNATOR BRUSH
27384WASHER
27387INSULATOR, TERMINAL
27388COVER, ALTERNATOR BRUSH
27411PULLEY, ALTERNATOR
27443COVER, ALTERNATOR BEARING
27446CLIP, ALTERNATOR CORD
27700AREGULATOR ASSY, GENERATOR
2738942010INSULATOR, TERMINAL
main27389-42010
9009900195
main90099-00195
9009900197
main90099-00197
9009904966
main90099-04966
9009905171
main90099-05171
9009905172
main90099-05172
9009905232
main90099-05232
9010910111
main90109-10111
9011908051
main90119-08051
9017906158
main90179-06158
9331914025
main93319-14025
9461211001
main94612-11001
31 parts on this diagram · 1 diagram in section