E
EPC Data

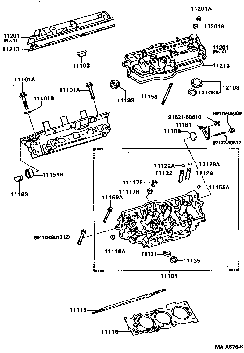
CYLINDER HEAD

Parts diagram
11101HEAD SUB-ASSY, CYLINDER
main11101-69055i198906-199106
main11101-69056i199106-199107
11101ABOLT(FOR CYLINDER HEAD SET)
main90910-02077i198906-199107
11101BWASHER, PLATE(FOR CYLINDER HEAD SET)
main90201-11018i198906-199105
main90201-11028i199105-199107
11115GASKET, CYLINDER HEAD
main11115-62030i198906-199106
main11115-62060i199008-199107
T=1.29
11116GASKET, CYLINDER HEAD, NO.2
main11116-62030i198906-199106
main11116-62060i199008-199107
11116APLUG, TIGHT, NO.1
main96411-43000i198906-199107
11117EPLUG, W/HEAD STRAIGHT SCREW, NO.1
main90341-24009i198906-199106
main90341-24011i199106-199107
11117HGASKET(FOR WATER HOLE)
main90430-24013i199106-199107
main90430-24246i198906-199106
11122BUSH, INTAKE VALVE GUIDE
main11122-16020i198906-199107
STD
main11123-16020i198906-199107
O/S 0.05
11122ARING, SHAFT SNAP (FOR VALVE GUIDE BUSH)
main90520-10004i198906-199107
11126BUSH, EXHAUST VALVE GUIDE
main11122-16020i198906-199107
STD
main11123-16020i198906-199107
O/S 0.05
11126ARING, SHAFT SNAP(FOR VALVE GUIDE BUSH)
main90520-10004i198906-199107
11131SEAT, INTAKE VALVE
main11131-62020i198906-199107
STD
main11132-62020i198906-199107
O/S 0.03
11135SEAT, EXHAUST VALVE
main11135-62020i198906-199107
STD
main11136-62020i198906-199107
O/S 0.03
11151BSEAL, OIL(FOR CAMSHAFT SETTING)
main90311-38034i198906-199107
11155APIN, RING W/HEAD
main90253-10004i198906-199107
11158BOLT, STUD(FOR HEAD TO CYLINDER HEAD COVER)
main90116-06071i198906-199101
main90116-06128i199101-199107
11159ABOLT(FOR HEAD TO CAMSHAFT BEARING CAP)
main90119-07005i198906-199107
11181PLATE, CYLINDER HEAD, REAR
main11181-62010i198906-199107
11183PLUG, SEMICIRCULAR
main11183-62010i198906-199107
11188PLUG, CAMSHAFT HOUSING
main11188-62010i198906-199107
11193GASKET, SPARK PLUG TUBE
main11193-62020i198906-199107
11201COVER SUB-ASSY, CYLINDER HEAD
main11201-62020i198906-199107
NO.1
main11202-62030i198906-199107
NO.2
11201ANUT, CAP(FOR CYLINDER HEAD COVER)
main90176-06008i198906-199107
11201BWASHER, SEAL(FOR CYLINDER HEAD COVER)
main90210-07005i199011-199107
main90210-08025i198906-199011
11213GASKET, CYLINDER HEAD COVER
main11213-62010i198906-199107
12108CAP SUB-ASSY, OIL FILLER
main12180-50010i198906-199107
12108AGASKET(FOR OIL FILLER CAP)
main90430-37140i198906-199107
9011008013
9017906080
9162160610
9212260612

32 parts on this diagram · 1 diagram in section

CYLINDER HEAD — Toyota Parts Diagram with OEM Numbers & Prices | EPC Data