E
EPC Data

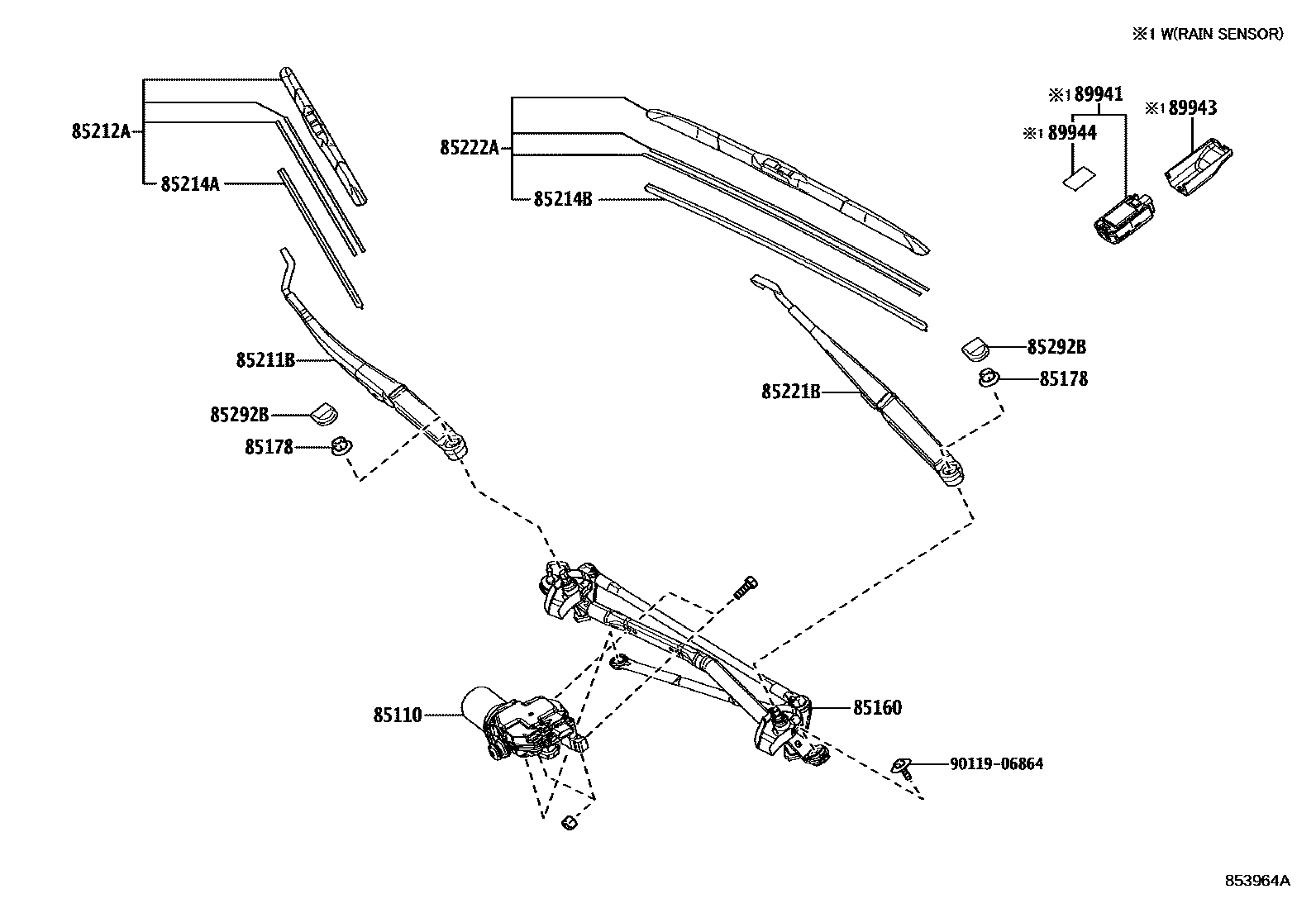
WINDSHIELD WIPER

Parts diagram
85110MOTOR ASSY, WINDSHIELD WIPER
main85110-33450i201806-202005
main85110-33451i202006
85160LINK ASSY, WINDSHIELD WIPER
main85150-33340i201806
main85150-33341i202108
85178NUT (FOR FRONT WIPER ARM SETTING)
main90182-10006×2i201806
85211BARM, FRONT WIPER, RH
main85211-33400i202108
85212ABLADE, FR WIPER, RH
main85212-33280i201806
85214ARUBBER, WIPER, RH
main85214-33180i202108
85214BRUBBER, WIPER, LH
main85214-52110i202108
85221BARM, FRONT WIPER, LH
main85221-33400i201806-202107
main85221-33470i202107
85222ABLADE, FR WIPER, LH
main85222-33320i201806
85292BCAP, FRONT WIPER ARM HEAD
main85292-13010×2i201806
89941SENSOR, RAIN
main89941-11010i201807-202008
LUXURY PACKAGE&WINDSHIELD WIPER CONTROL-AUTO WIPER(RAIN SENSOR); PREMIUM PACKAGE&WINDSHIELD WIPER CONTROL-AUTO WIPER(RAIN SENSOR); ULTRA LUXURY PACKAGE&WINDSHIELD WIPER CONTROL-AUTO WIPER(RAIN SENSOR)
main89941-33060i201806
F SPORT; LUXURY PACKAGE; PREMIUM PACKAGE
89943COVER, RAIN SENSOR
main89943-33070i201806
F SPORT; LUXURY PACKAGE; PREMIUM PACKAGE
89944TAPE, RAIN SENSOR
main89944-42020i201807-202008
LUXURY PACKAGE&WINDSHIELD WIPER CONTROL-AUTO WIPER(RAIN SENSOR); PREMIUM PACKAGE&WINDSHIELD WIPER CONTROL-AUTO WIPER(RAIN SENSOR); ULTRA LUXURY PACKAGE&WINDSHIELD WIPER CONTROL-AUTO WIPER(RAIN SENSOR)
9011906864

14 parts on this diagram · 2 diagrams in section

WINDSHIELD WIPER — Toyota Parts Diagram with OEM Numbers & Prices | EPC Data