E
EPC Data

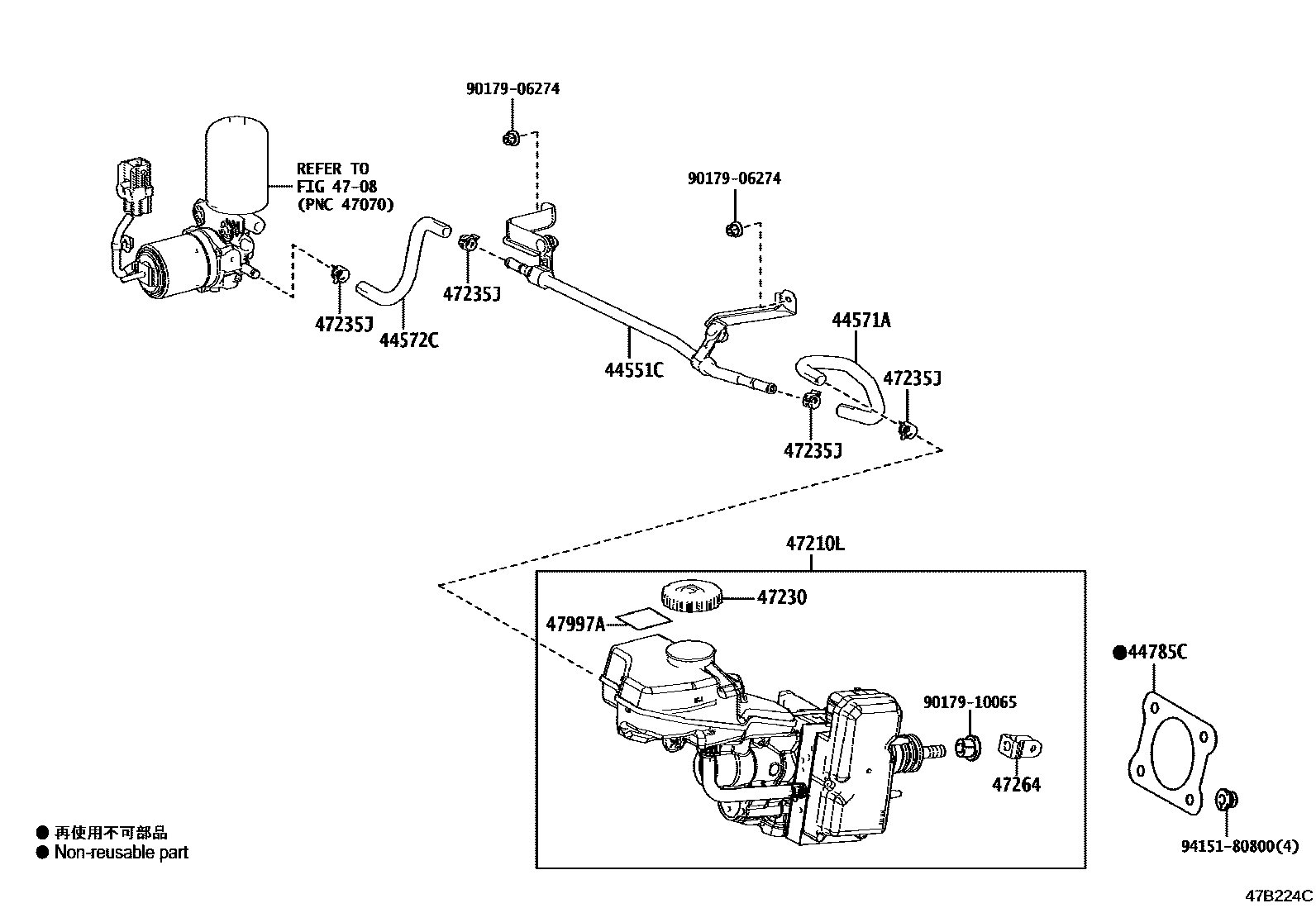
BRAKE MASTER CYLINDER

Parts diagram
44551CTUBE, BRAKE ACTUATOR, NO.1
main44551-33080i202108
44571AHOSE, BRAKE ACTUATOR, NO.1
main44571-33150i201807
44572CHOSE, BRAKE ACTUATOR, NO.2
main44572-33010i201807
44785CGASKET, BRAKE BOOSTER
main44785-12040i202108
4708BRAKE TUBE & CLAMP
47210LBRAKE BOOSTER ASSY, W/MASTER CYLINDER
main47050-33820i202004
main47050-33850i201807-201907
main47050-33860i201907-202004
main47050-33A20i202108-202208
main47050-33A21i202208-202402
main47050-33B80i202402
47230CAP ASSY, BRAKE MASTER CYLINDER RESERVOIR FILLER
main47230-33330i202002-202008
main47230-47090i201806-202002
47235JCLIP(FOR RESERVOIR HOSE NO.2)
main96137-41501×4i201807
47264CLEVIS, MASTER CYLINDER PUSH ROD
main47264-12060i201807
47997ALABEL, ACCUMULATOR CAUTION, NO.1
main47997-76010i201807
9017906274
9017910065
9415180800

13 parts on this diagram · 2 diagrams in section

BRAKE MASTER CYLINDER — Toyota Parts Diagram with OEM Numbers & Prices | EPC Data