E
EPC Data

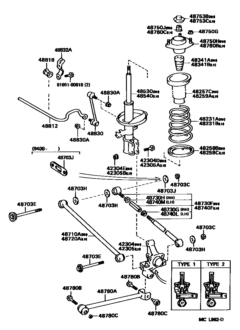
REAR SPRING & SHOCK ABSORBER

Parts diagram
42304CARRIER SUB-ASSY, REAR AXLE, RH
main42304-20090i199408-199608
W(*66)
main42304-33010i199106-199408
42304DBOLT (FOR REAR AXLE CARRIER RH)
main90105-15001×2i199106-199608
42304ENUT (FOR REAR AXLE CARRIER RH)
main90179-15001×2i199106-199608
42305CARRIER SUB-ASSY, REAR AXLE, LH
main42305-20090i199408-199608
W(*66)
main42305-33010i199106-199408
42305ABOLT (FOR REAR AXLE CARRIER LH)
main90105-15001×2i199106-199608
42305BNUT (FOR REAR AXLE CARRIER LH)
main90179-15001×2i199106-199608
48231ASPRING, COIL, REAR RH
main48231-06010i199205-199404
main48231-06160i199407-199608
main48231-33020i199404-199608
main48231-33110i199201-199402
SPORTS PACKAGE
main48231-33160i199404-199608
48231BSPRING, COIL, REAR LH
main48231-06010i199404-199411
main48231-06160i199407-199608
main48231-33020i199106-199404
main48231-33110i199201-199402
SPORTS PACKAGE
main48231-33160i199404-199608
48257CINSULATOR, REAR COIL SPRING, UPPER RH
main48257-06010i199204-199608
main48257-32040i199106-199506
main48257-32060i199506-199608
48258BINSULATOR, REAR COIL SPRING, LOWER RH
main48258-32020i199106-199608
48258CINSULATOR, REAR COIL SPRING, LOWER LH
main48258-32020i199106-199608
48259AINSULATOR, REAR COIL SPRING, UPPER LH
main48259-06010i199204-199608
main48259-32010i199106-199506
main48259-32020i199506-199608
48341ABUMPER, REAR SPRING, NO.1 RH
main48341-32050i199106-199202
main48341-32051i199202-199212
main48341-32052i199212-199608
48341BBUMPER, REAR SPRING, NO.1 LH
main48341-32050i199106-199202
main48341-32051i199202-199212
main48341-32052i199212-199608
48530ABSORBER ASSY, SHOCK, REAR RH
main48530-33030i199404-199408
main48530-33080i199202-199408
main48530-39205i199408-199608
main48530-39235i199404-199608
main48530-39275i199408-199608
48540ABSORBER ASSY, SHOCK, REAR LH
main48540-33030i199106-199404
main48540-33080i199201-199402
SPORTS PACKAGE
main48540-39155i199408-199608
main48540-39185i199404-199608
main48540-39225i199408-199608
48703CNUT(FOR REAR SUSPENSION ARM)
main90179-14019×4i199106-199608
48703EBOLT(FOR REAR SUSPENSION ARM)
main90901-09001×2i199106-199608
*14-1.50PX260-26,BODY SIDE
main90901-19001×2i199106-199608
*14-1.50PX260-26,CARRIRE SIDE
48703HWASHER, NO.1(FOR REAR SUSPENSION ARM)
main90201-14017×6i199106-199608
48703JWASHER, NO.2(FOR REAR SUSPENSION ARM)
main48715-32010×2i199106-199408
main48715-33010i199408-199608
48710AARM ASSY, REAR SUSPENSION, NO.1 RH
main48710-33020i199106-199408
main48710-33030i199408-199608
48720AARM ASSY, REAR SUSPENSION, NO.1 LH
main48710-33020i199106-199408
main48710-33030i199408-199608
48730FARM ASSY, REAR SUSPENSION, NO.2 RH
main48730-33010i199106-199308
main48730-33020i199106-199308
W(*66)
48730GNUT, NO.1(FOR REAR SUSPENSION ARM NO.2 RH)
main90179-18016i199106-199608
48730HNUT, NO.2(FOR ARM ASSY, REAR SUSPENSION, NO.2 RH)
main90179-18017i199106-199608
48740FARM ASSY, REAR SUSPENSION, NO.2 LH
main48740-33010i199106-199308
main48740-33020i199106-199308
W(*66)
main48740-33040i199308-199608
48740LNUT, NO.1(FOR REAR SUSPENSION ARM NO.2 LH)
main90179-18017i199106-199608
48740MNUT, NO.2(FOR ARM ASSY, REAR SUSPENSION, NO.2 LH)
main90179-16022i199106-199608
48750GNUT(FOR REAR SUSPENSION SUPPORT)
main90179-08122×6i199106-199608
48750HSUPPORT ASSY, REAR SUSPENSION, RH
main48750-32070i199106-199608
48750JNUT(FOR REAR SUPPORT TO REAR SHOCK ABSORBER RH)
main94182-11400i199106-199504
main94184-61400i199504-199608
48753BCOVER, REAR SUSPENSION SUPOPORT, NO.1 RH
main48753-32041i199106-199608
48753CCOVER, REAR SUSPENSION SUPOPORT, NO.1 LH
main48753-32041i199106-199608
48760BSUPPORT ASSY REAR SUSPENSION, LH
main48760-32020i199106-199608
48760CNUT(FOR REAR SUPPORT TO REAR SHOCK ABSORBER LH)
main94182-11400i199106-199504
main94184-61400i199504-199608
48780AROD ASSY, STRUT, REAR
main48780-12010×2i199106-199310
main48780-33010×2i199310-199608
48780BBOLT(FOR STRUT ROD)
main90119-12131×4i199106-199608
48780CNUT(FOR STRUT ROD)
main90179-12062×2i199106-199405
CARRIER SIDE
main90179-12063×2i199106-199608
BODY SIDE
main90179-12091×2i199405-199408
48812BAR, STABILIZER, REAR
main48812-06020i199204-199605
main48812-06030i199204-199403
main48812-33020i199106-199605
main48812-33030i199106-199403
main48812-33070i199201-199402
SPORTS PACKAGE
main48812-33090i199605-199608
48818BUSH, STABILIZER, REAR
main48818-33010×2i199106-199208
main48818-33011×2i199208-199605
main48818-33020×2i199106-199208
main48818-33021×2i199208-199403
main48818-33030×2i199202-199208
main48818-33031×2i199403-199608
main48818-33040×2i199605-199608
48830LINK ASSY, REAR STABILIZER
main48830-33010×2i199106-199608
48830ANUT(FOR REAR STABILIZER LINK)
main90179-10054×4i199106-199608
48832ABRACKET, REAR STABILIZER BAR, NO.1
main48832-33010×2i199106-199605
main48832-33020×2i199605-199608
9165160818

44 parts on this diagram · 1 diagram in section

REAR SPRING & SHOCK ABSORBER — Toyota Parts Diagram with OEM Numbers & Prices | EPC Data