E
EPC Data

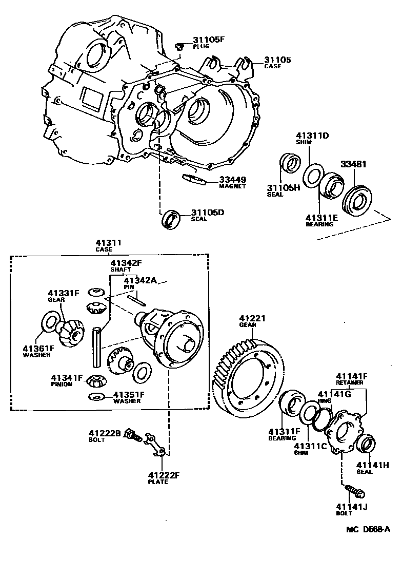
FRONT AXLE HOUSING & DIFFERENTIAL

Parts diagram
31105CASE SUB-ASSY, TRANSAXLE(MTM)
main31115-20012i198802-198804
main31115-20013i198804-198808
31105DSEAL, OIL, NO.1(FOR FRONT TRANSAXLE CASE)
main90311-30002i198608-198808
main90311-30006i198710-198808
31105FPLUG(FOR TRANSAXLE CASE)
main90341-10065i198608-198808
31105HSEAL, OIL, NO.2(FOR TRANSAXLE CASE)
main90311-35014i198608-198808
33449MAGNET, TRANSMISSION
main33449-20010i198710-198808
main33449-32010i198608-198808
33481GEAR, SPEEDOMETER DRIVE (MTM)
main33481-17010i198802-198808
main33481-20120i198710-198808
W(ANTI-LOCK BRAKE SYSTEM)
main33481-32020i198608-198808
main33481-32030i198710-198808
41141FRETAINER, FRONT DIFFERENTIAL SIDE BEARING
main41101-32010i198608-198808
main41101-32020i198802-198808
main41141-32020i198608-198703
main41141-32040i198703-198709
main41141-32041i198709-198808
41141GRING, O(FOR FRONT DIFFERENTIAL SIDE BEARING RETAINER)
main90301-63004i198608-198808
main90301-99018i198608-198808
41141HSEAL, OIL(FOR DIFFERENTIAL SIDE BEARING RETAINER)
main90311-35010i198608-198708
main90311-35014i198608-198808
main90311-35019i198708-198808
main90311-50011i198802-198808
41141JBOLT(FOR FRONT DIFFERENTIAL SIDE BEARING RETAINER)
main90105-08061i198608-198808
*8-1.25PX26.5-23.5
main90105-08155i198802-198808
*8-1.25PX36-23
main91611-60825i198608-198808
*8-1.25PX25-25
41221GEAR, FRONT DIFFERENTIAL RING
main41221-12240i198802-198808
main41221-12260i198710-198808
main41221-32030i198608-198808
main41221-32060i198802-198808
41222BBOLT (FOR FRONT DIFFERENTIAL RING GEAR SET)
main90101-11003i198608-198808
main90105-12150i198710-198808
main90105-12154i198802-198808
41222FPLATE, FORNT DIFFERENTIAL RING GEAR SET BOLT LOCK
main41222-32010i198608-198808
41311CASE, FRONT DIFFERENTIAL
main41301-32010i198608-198808
main41301-32021i198709-198808
main41302-17012i198802-198808
main41302-32020i198802-198808
41311CSHIM (FOR FRONT DIFFERENTIAL CASE REAR)
main90564-45001i198710-198808
T=1.90,MARK 01
main90564-45001i198608-198710
T=1.90,MARK 01,T=1.90,MARK 01
main90564-45002i198608-198710
T=1.95,MARK 02,T=1.95,MARK 02
main90564-45002i198710-198808
T=1.95,MARK 02
main90564-45003i198710-198808
T=2.00,MARK 03
main90564-45003i198608-198710
T=2.00,MARK 03,T=2.00,MARK 03
main90564-45004i198710-198808
T=2.05,MARK 04
main90564-45004i198608-198710
T=2.05,MARK 04,T=2.05,MARK 04
main90564-45005i198608-198710
T=2.10,MARK 05,T=2.10,MARK 05
main90564-45005i198710-198808
T=2.10,MARK 05
main90564-45006i198608-198710
T=2.15,MARK 06,T=2.15,MARK 06
main90564-45006i198710-198808
T=2.15,MARK 06
main90564-45007i198608-198710
T=2.20,MARK 07,T=2.20,MARK 07
main90564-45007i198710-198808
T=2.20,MARK 07
main90564-45008i198608-198710
T=2.25,MARK 08,T=2.25,MARK 08
main90564-45008i198710-198808
T=2.25,MARK 08
main90564-45009i198710-198808
T=2.30,MARK 09
main90564-45009i198608-198710
T=2.30,MARK 09,T=2.30,MARK 09
main90564-45010i198710-198808
T=2.35,MARK 10
main90564-45010i198608-198710
T=2.35,MARK 10,T=2.35,MARK 10
main90564-45011i198608-198710
T=2.40,MARK 11,T=2.40,MARK 11
main90564-45011i198608-198808
T=2.40,MARK 11
main90564-45012i198608-198710
T=2.45,MARK 12,T=2.45,MARK 12
main90564-45012i198710-198808
T=2.45,MARK 12
main90564-45013i198608-198710
T=2.50,MARK 13,T=2.50,MARK 13
main90564-45013i198710-198808
T=2.50,MARK 13
main90564-45014i198608-198710
T=2.55,MARK 14,T=2.55,MARK 14
main90564-45014i198710-198808
T=2.55,MARK 14
main90564-45015i198710-198808
T=2.60,MARK 15
main90564-45015i198608-198710
T=2.60,MARK 15,T=2.60,MARK 15
main90564-45016i198608-198710
T=2.65,MARK 16,T=2.65,MARK 16
main90564-45016i198710-198808
T=2.65,MARK 16
main90564-45017i198608-198710
T=2.70,MARK 17,T=2.70,MARK 17
main90564-45017i198710-198808
T=2.70,MARK 17
main90564-45018i198608-198710
T=2.75,MARK 18,T=2.75,MARK 18
main90564-45018i198710-198808
T=2.75,MARK 18
main90564-45019i198608-198710
T=2.80,MARK 19,T=2.80,MARK 19
main90564-45019i198710-198808
T=2.80,MARK 19
main90564-76001i198710-198808
T=2.00,MARK 0
main90564-76002i198710-198808
T=2.05,MARK 1
main90564-76003i198710-198808
T=2.10,MARK 2
main90564-76004i198710-198808
T=2.15,MARK 3
main90564-76005i198710-198808
T=2.20,MARK 4
main90564-76006i198710-198808
T=2.25,MARK 5
main90564-76007i198710-198808
T=2.30,MARK 6
main90564-76008i198710-198808
T=2.35,MARK 7
main90564-76009i198710-198808
T=2.40,MARK 8
main90564-76010i198710-198808
T=2.45,MARK 9
main90564-76011i198710-198808
T=2.50,MARK A
main90564-76012i198710-198808
T=2.55,MARK B
main90564-76013i198710-198808
T=2.60,MARK C
main90564-76014i198710-198808
T=2.65,MARK D
main90564-76015i198710-198808
T=2.70,MARK E
main90564-76016i198710-198808
T=2.75,MARK F
main90564-76017i198710-198808
T=2.80,MARK G
main90564-76018i198710-198808
T=2.85,MARK H
41311DSHIM (FOR FRONT DIFFERENTIAL CASE FRONT)
main90564-45001i198608-198709
T=1.90,MARK 01,T=1.90,MARK 01
main90564-45002i198608-198709
T=1.95,MARK 02,T=1.95,MARK 02
main90564-45003i198608-198709
T=2.00,MARK 03,T=2.00,MARK 03
main90564-45004i198608-198709
T=2.05,MARK 04,T=2.05,MARK 04
main90564-45005i198608-198709
T=2.10,MARK 05,T=2.10,MARK 05
main90564-45006i198608-198709
T=2.15,MARK 06,T=2.15,MARK 06
main90564-45007i198608-198709
T=2.20,MARK 07,T=2.20,MARK 07
main90564-45008i198608-198709
T=2.25,MARK 08,T=2.25,MARK 08
main90564-45009i198608-198709
T=2.30,MARK 09,T=2.30,MARK 09
main90564-45010i198608-198709
T=2.35,MARK 10,T=2.35,MARK 10
main90564-45011i198608-198709
T=2.40,MARK 11,T=2.40,MARK 11
main90564-45011i198608-198808
T=2.40,MARK 11
main90564-45012i198608-198709
T=2.45,MARK 12,T=2.45,MARK 12
main90564-45013i198608-198709
T=2.50,MARK 13,T=2.50,MARK 13
main90564-45014i198608-198709
T=2.55,MARK 14,T=2.55,MARK 14
main90564-45015i198608-198709
T=2.60,MARK 15,T=2.60,MARK 15
main90564-45016i198608-198709
T=2.65,MARK 16,T=2.65,MARK 16
main90564-45017i198608-198709
T=2.70,MARK 17,T=2.70,MARK 17
main90564-45018i198608-198709
T=2.75,MARK 18,T=2.75,MARK 18
main90564-45019i198608-198709
T=2.80,MARK 19,T=2.80,MARK 19
main90564-49001i198710-198808
T=1.90,MARK 01
main90564-49001i198709-198710
T=1.90,MARK 01,T=1.90,MARK 01
main90564-49002i198709-198710
T=1.95,MARK 02,T=1.95,MARK 02
main90564-49002i198710-198808
T=1.95,MARK 02
main90564-49003i198710-198808
T=2.00,MARK 03
main90564-49003i198709-198710
T=2.00,MARK 03,T=2.00,MARK 03
main90564-49004i198710-198808
T=2.05,MARK 04
main90564-49004i198709-198710
T=2.05,MARK 04,T=2.05,MARK 04
main90564-49005i198709-198710
T=2.10,MARK 05,T=2.10,MARK 05
main90564-49005i198710-198808
T=2.10,MARK 05
main90564-49006i198710-198808
T=2.15,MARK 06
main90564-49006i198709-198710
T=2.15,MARK 06,T=2.15,MARK 06
main90564-49007i198709-198710
T=2.20,MARK 07,T=2.20,MARK 07
main90564-49007i198710-198808
T=2.20,MARK 07
main90564-49008i198709-198710
T=2.25,MARK 08,T=2.25,MARK 08
main90564-49008i198710-198808
T=2.25,MARK 08
main90564-49009i198709-198710
T=2.30,MARK 09,T=2.30,MARK 09
main90564-49009i198710-198808
T=2.30,MARK 09
main90564-49010i198709-198710
T=2.35,MARK 10,T=2.35,MARK 10
main90564-49010i198710-198808
T=2.35,MARK 10
main90564-49011i198710-198808
T=2.40,MARK 11
main90564-49011i198709-198710
T=2.40,MARK 11,T=2.40,MARK 11
main90564-49012i198709-198710
T=2.45,MARK 12,T=2.45,MARK 12
main90564-49012i198710-198808
T=2.45,MARK 12
main90564-49013i198709-198710
T=2.50,MARK 13,T=2.50,MARK 13
main90564-49013i198710-198808
T=2.50,MARK 13
main90564-49014i198710-198808
T=2.55,MARK 14
main90564-49014i198709-198710
T=2.55,MARK 14,T=2.55,MARK 14
main90564-49015i198709-198710
T=2.60,MARK 15,T=2.60,MARK 15
main90564-49015i198710-198808
T=2.60,MARK 15
main90564-49016i198710-198808
T=2.65,MARK 16
main90564-49016i198709-198710
T=2.65,MARK 16,T=2.65,MARK 16
main90564-49017i198709-198710
T=2.70,MARK 17,T=2.70,MARK 17
main90564-49017i198710-198808
T=2.70,MARK 17
main90564-49018i198710-198808
T=2.75,MARK 18
main90564-49018i198709-198710
T=2.75,MARK 18,T=2.75,MARK 18
main90564-49019i198709-198710
T=2.80,MARK 19,T=2.80,MARK 19
main90564-49019i198710-198808
T=2.80,MARK 19
main90564-80001i198802-198808
T=1.0
41311EBEARING, TAPERED ROLLER (FOR FRONT DIFFERENTIAL CASE FRONT)
main90366-40016i198608-198808
main90366-57001i198710-198808
main90366-57020i198802-198808
41311FBEARING, TAPERED ROLLER (FOR FRONT DIFFERENTIAL CASE REAR)
main90366-40023i198608-198808
main90366-44001i198709-198808
main90366-50014i198710-198808
main90366-50021i198802-198808
41331FGEAR, FRONT DIFFERENTIAL SIDE
main41331-12030i198710-198808
main41331-17010i198802-198808
main41331-20020i198710-198808
W(ANTI-LOCK BRAKE SYSTEM)
main41331-32010i198608-198808
41341FPINION, FRONT DIFFERENTIAL
main41341-20011i198710-198808
main41341-20020i198802-198808
main41341-20030i198710-198808
W(ANTI-LOCK BRAKE SYSTEM),FR
main41341-30011i198608-198808
41342APIN, STRAIGHT (FOR FRONT DIFFERENTIAL PINION SHAFT)
main90250-05028i198710-198808
main90250-06058i198608-198808
41342FSHAFT, FRONT DIFFERENTIAL PINION, NO.1
main41342-12040i198710-198808
main41342-20040i198710-198808
W(ANTI-LOCK BRAKE SYSTEM)
main41342-39025i198608-198805
41351FWASHER, FRONT DIFFERENTIAL PINION THRUST
main41351-12010i198710-198808
main41351-20010i198802-198808
main41351-20020i198710-198808
W(ANTI-LOCK BRAKE SYSTEM)
main41351-32010i198608-198808
main41351-32020i198802-198808
41361FWASHER, FRONT DIFFERENTIAL SIDE GEAR THRUST, NO.1
main41361-12330i198710-198808
T=0.95,MARK A
main41361-12340i198710-198808
T=1.00,MARK B
main41361-12350i198710-198808
T=1.05,MARK C
main41361-12360i198710-198808
T=1.10,MARK D
main41361-12370i198710-198808
T=1.15,MARK E
main41361-12380i198710-198808
T=1.20,MARK F
main41361-12390i198710-198808
T=1.25,MARK G
main41361-12400i198710-198808
T=1.30,MARK H
main41361-12410i198710-198808
T=1.35,MARK J
main41361-12420i198710-198808
T=1.40,MARK K
main41361-22020i198608-198710
T=1.00,MARK 02,T=1.00
main41361-22020i198710-198808
T=1.00,MARK 02
main41361-22030i198710-198808
T=1.10,MARK 03
main41361-22030i198608-198710
T=1.10,MARK 03,T=1.10
main41361-22040i198608-198710
T=1.20,MARK 04,T=1.20
main41361-22040i198710-198808
T=1.20,MARK 04
main41361-22140i198710-198808
T=0.95,MARK 14
main41361-22140i198608-198710
T=0.95,MARK 14,T=0.95
main41361-22150i198608-198710
T=1.05,MARK 15,T=1.05
main41361-22150i198710-198808
T=1.05,MARK 15
main41361-22160i198710-198808
T=1.15,MARK 16
main41361-22160i198608-198710
T=1.15,MARK 16,T=1.15
main41362-17010i198802-198808
T=0.80,MARK FA
main41362-17020i198802-198808
T=0.90,MARK FB
main41362-17030i198802-198808
T=1.00,MARK FC
main41362-17040i198802-198808
T=1.10,MARK FD
main41362-17050i198802-198808
T=1.20,MARK FE
main41362-17060i198802-198808
T=1.30,MARK FF
main41362-17070i198802-198808
T=1.40,MARK FG

24 parts on this diagram · 6 diagrams in section

FRONT AXLE HOUSING & DIFFERENTIAL — Toyota Parts Diagram with OEM Numbers & Prices | EPC Data