E
EPC Data

HEATING & AIR CONDITIONING - CONTROL & AIR DUCT

Parts diagram
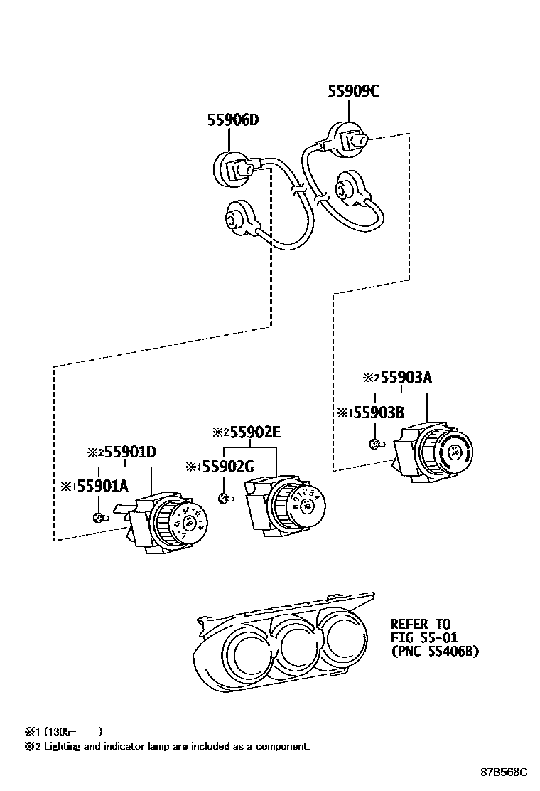
5501INSTRUMENT PANEL & GLOVE COMPARTMENT
55901ABULB, HEATER CONTROL SUB-ASSY, NO.1
main90010-01145i201305
55901DCONTROL SUB-ASSY, HEATER, NO.1
main55901-21010i201008-201305
main55901-21040i201305
55902ECONTROL SUB-ASSY, HEATER, NO.2
main55902-21110i201008-201305
main55902-21120i201305
55902GBULB, HEATER CONTROL SUB-ASSY, NO.2
main90010-01145i201305
55903ACONTROL SUB-ASSY, HEATER, NO.3
main55903-21010i201008-201305
main55903-21030i201305
55903BBULB, HEATER CONTROL SUB-ASSY, NO.3
main90010-01165i201305
55906DCABLE SUB-ASSY, HEATER CONTROL, NO.2
main55906-26060i201008-201305
55909CCABLE SUB-ASSY, AIRMIX DAMPER CONTROL
main55909-26080i201008-201305

9 parts on this diagram · 3 diagrams in section

HEATING & AIR CONDITIONING - CONTROL & AIR DUCT — Toyota Parts Diagram with OEM Numbers & Prices | EPC Data