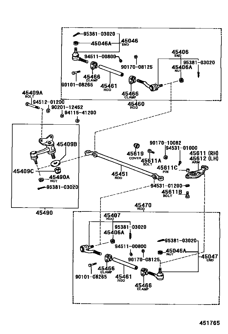
FRONT STEERING GEAR & LINK

45046END SUB-ASSY, TIE ROD, RH
45046ANUT, CASTLE(FOR TIE ROD END)
45047END SUB-ASSY, TIE ROD, LH
45406ROD SUB-ASSY, TIE, RH
45406ANUT, CASTLE(FOR TIE ROD)
45407ROD SUB-ASSY, TIE, LH
45409ABOLT, HEXAGON(FOR IDLER ARM SUPPORT SETTING)
45409BWASHER, PLATE(FOR IDLER ARM RUBBER BUSH)
45409CNUT(FOR IDLER ARM SUPPORT)
45451ROD, STEERING RELAY
W/POWER STEERING
45461ROD, STEERING TIE
45466CLAMP, TIE ROD END
45490ARM ASSY, STEERING IDLER
W/POWER STEERING
45490ANUT, CASTLE(FOR IDLER ARM)
45611ARM, STEERING KNUCKLE, RH
45611ABOLT, KNUCKLE STOPPER
45611BBOLT, HEXAGON(FOR STEERING KNUCKLE TO SHOCK ABSORBER)
45611CPIN, STRAIGHT(FOR STEERING KNUCKLE TO SHOCK ABSORBER)
45612ARM, STEERING KNUCKLE, LH
45619COVER, KNUCKLE STOPPER
9010108265
main90101-08265
9017008125
main90170-08125
9017010082
main90170-10082
9020112452
main90201-12452
9411541200
main94115-41200
9451100800
main94511-00800
9451201200
main94512-01200
9453101000
main94531-01000
9453101200
main94531-01200
9538103020
main95381-03020
32 parts on this diagram · 1 diagram in section