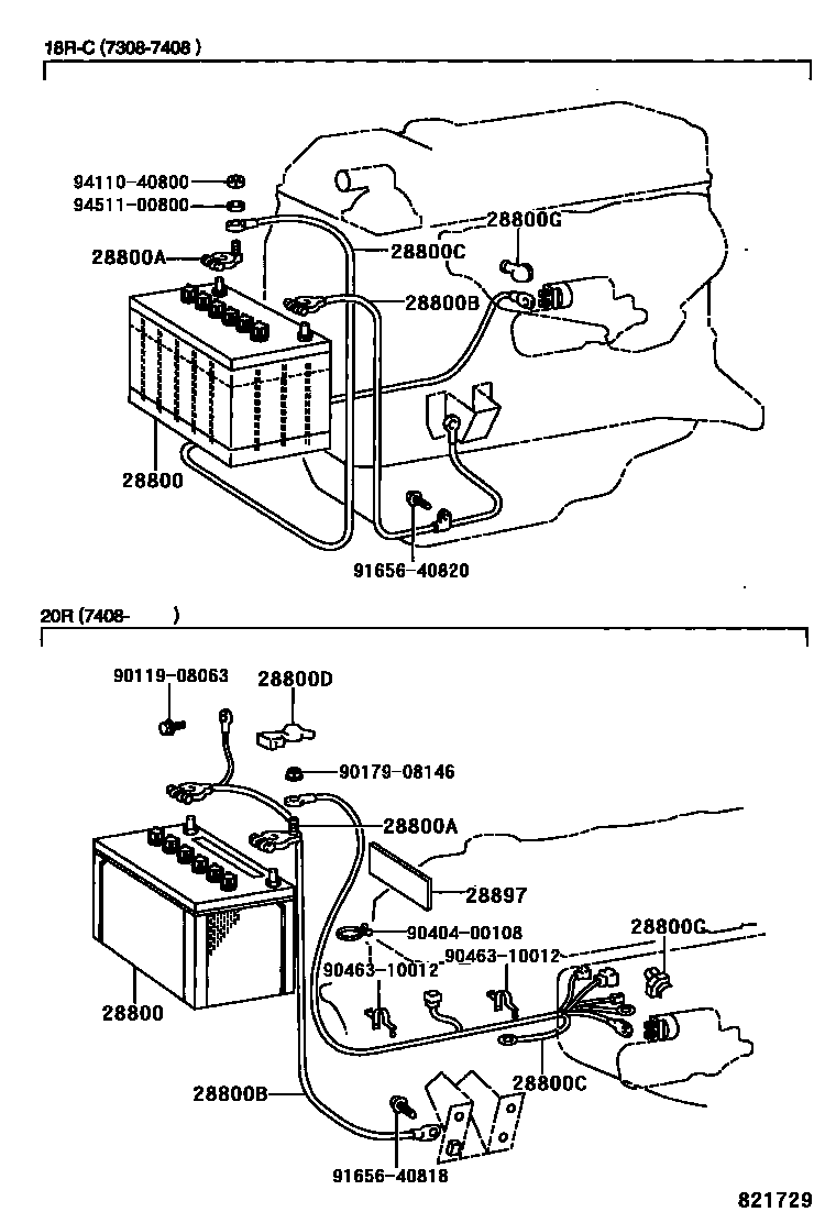
BATTERY & BATTERY CABLE

28800BATTERY
main28800-33071i18RC..RT118..4F;20R..RT119..3HC;20R..RT105..3FC..4D;18RC..RT104..3FC..STD197308-197808
32C24R,N40,GS
main28800-33111i18RC..RT118..4F;20R..RT119..3HC;20R..RT105..3FC..4D;18RC..RT104..3FC..STD197308-197808
55D26R,N50Z,GS
main28800-34010i18RC..RT118..4F;20R..RT119..3HC;20R..RT105..3FC..4D;18RC..RT104..3FC..STD197308-197808
N50,GS
28800ATERMINAL, BATTERY POSITIVE
28800BCABLE, BATTERY TO GROUND
main90982-02076i18RC..RT118..4F;20R..RT119..3HC;20R..RT105..3FC..4D;18RC..RT104..3FC..STD197308-197808
28800CCABLE, BATTERY TO STARTER(FOR BATTERY TO MAIN SWITCH)
CALIFORNIA SPEC.
CALIFORNIA SPEC.
ARCTIC
ARCTIC
ARCTIC
28800DCOVER, CONNECTOR(FOR BATTERY TERMINAL)
28800GCAP, TERMINAL(FOR STARTER)
1.4KW STARTER
28897PLATE, BATTERY CAUTION
FOR N40
FOR N50 & N50Z
9011908063
main90119-08063
9017908146
main90179-08146
9040400108
main90404-00108
9046310012
main90463-10012
9165640818
main91656-40818
9165640820
main91656-40820
9411040800
main94110-40800
9451100800
main94511-00800
15 parts on this diagram · 1 diagram in section