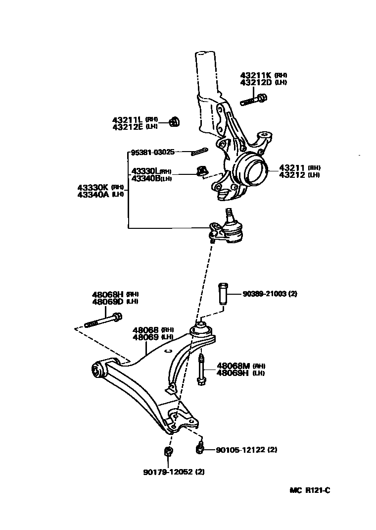
FRONT AXLE ARM & STEERING KNUCKLE

43211KNUCKLE, STEERING, RH
W(ABS)
W(ABS)
43211KBOLT (FOR STEERING KNUCKLE RH)
OD=15.0
OD=13.9
OD=13.3
OD=12.4
OD=15.0
OD=13.9
OD=13.3
OD=12.4
43211LNUT (FOR STEERING KNUCKLE RH)
43212KNUCKLE, STEERING, LH
W(ABS)
W(ABS)
43212DBOLT (FOR STEERING KNUCKLE LH)
OD=15.0
OD=13.9
OD=13.3
OD=12.4
OD=15.0
OD=13.9
OD=13.3
OD=12.4
43212ENUT (FOR STEERING KNUCKLE LH)
43330KJOINT ASSY, LOWER BALL, FRONT RH
43330LNUT, CASTLE (FOR FRONT LOWER BALL JOINT RH)
43340AJOINT ASSY, LOWER BALL, FRONT LH
43340BNUT, CASTLE (FOR FRONT LOWER BALL JOINT LH)
48068ARM SUB-ASSY, FRONT SUSPENSION, LOWER NO.1 RH
48068HBOLT(FOR FRONT SUSPENSION LOWER ARM NO.1 RH)
48068MBOLT(FOR FRONT SUSPENSION LOWER ARM NO.2 RH)
48069ARM SUB-ASSY, FRONT SUSPENSION, LOWER NO.1 LH
48069DBOLT(FOR FRONT SUSPENSION LOWER ARM NO.1 LH)
48069HBOLT(FOR FRONT SUSPENSION LOWER ARM NO.2 LH)
9010512122
main90105-12122
9017912052
main90179-12052
9038921003
main90389-21003
9538103025
main95381-03025
20 parts on this diagram · 1 diagram in section