E
EPC Data

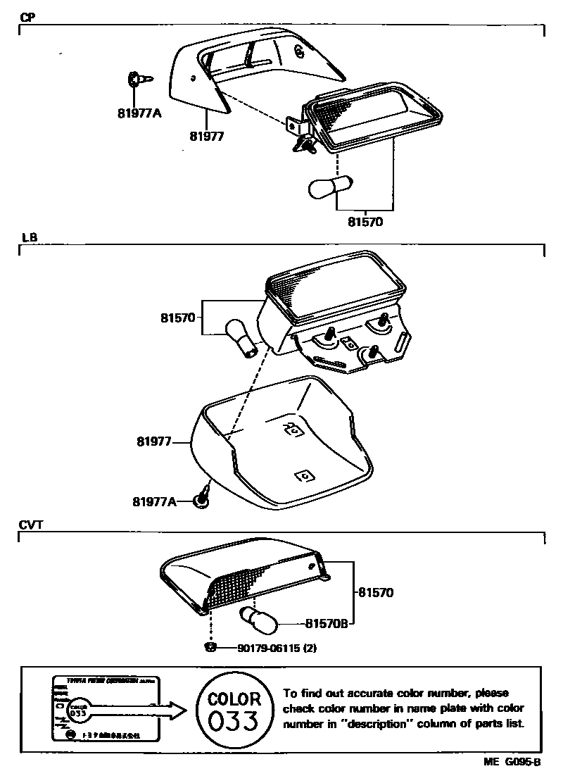
CENTER STOP LAMP

Parts diagram
81570LAMP ASSY, CENTER STOP
main81570-20010i198508-198708
main81570-20020i198508-198708
main81570-20030-01i198608-198708
BLACK(202),BLACK,202
main81570-20030-02i198608-198708
SUPER RED(3E5),SUPER RED,3E5
main81570-20030-08i198608-198708
SUPER WHITE(040),SUPER WHITE,040
81570BBULB (FOR CENTER STOP LAMP)
main90981-11039i198608-198708
12V 16W,12V 8W
81977COVER, CENTER STOP LAMP
main81977-20010-02i198508-198708
RED,RED,TRIM3#
main81977-20010-03i198508-198708
SHADOW GRAY,SHADOW GRAY,TRIM1#
main81977-20010-04i198508-198708
DEEP BLUE,DEEP BLUE,TRIM8#
main81977-20010-06i198508-198708
BROWN,BROWN,TRIM4#
main81977-20020-02i198508-198708
RED,RED,TRIM3#
main81977-20020-03i198508-198708
SHADOW GRAY,SHADOW GRAY,TRIM1#
main81977-20020-04i198508-198708
DEEP BLUE,DEEP BLUE,TRIM8#
main81977-20020-06i198508-198708
BROWN,BROWN,TRIM4#
81977ACLIP (FOR CENTER STOP LAMP)
main90467-07041-16×3i198508-198708
BROWN,BROWN,TRIM4#
main90467-07041-24×3i198508-198708
BLUE,DEEP BLUE,TRIM8#
main90467-07041-42×3i198508-198708
RED,RED,TRIM3#
main90467-07041-43×3i198508-198708
GRAY,SHADOW GRAY,TRIM1#
9017906115

5 parts on this diagram · 1 diagram in section

CENTER STOP LAMP — Toyota Parts Diagram with OEM Numbers & Prices | EPC Data